Сборка цепных передач
Цепная передача состоит из двух звездочек – ведущей и ведомой, сидящих на валах и соединенных бесконечной цепью.
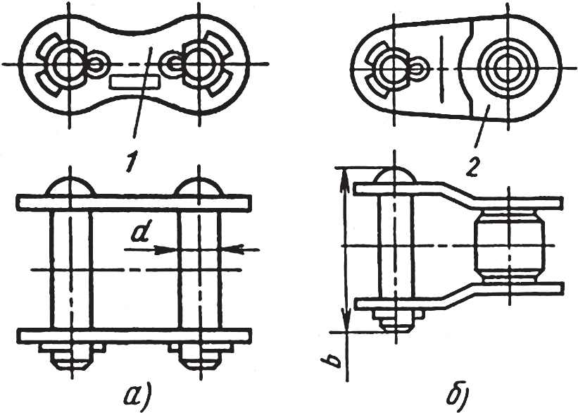
Цепная передача состоит из установленных на валы звездочек, связанных между собой цепью. По конструкции цепи бывают втулочно-роликовые (рис. 6, а) и зубчатые (рис. 6, б). Втулочно-роликовые цепи применяются для передач с малым числом оборотов, а зубчатые – с большим числом оборотов. Роликовые цепи допускают наибольшую скорость до 18 м/с, пластинчатые – до 30 м/с.

Рис. 6. Цепная передача: а – с втулочно-роликовой цепью; б – с пластинчатой цепью
Сборка цепной передачи состоит из установки и закрепления звездочек на валах, надевании цепи и регулировании. Звездочки на валах устанавливают так же, как и зубчатые колеса. После закрепления звездочки на валу ее следует проверить на радиальное и торцовое биение (табл. 1).
Таблица 1. Допустимое биение звездочек для втулочно-роликовых цепей, мм
| Диаметр | Биение радиальное торцовое | |
| До 100 | 0,25 | 0,3 |
| 100-200 | 0,5 | 0,5 |
| 200-300 | 0,75 | 0,8 |
| 300-400 | 1,0 | 1,0 |
Для правильной работы цепной передачи оси звездочек должны быть параллельны. Параллельность осей звездочек проверяют линейкой, уровнем или другими средствами (рис. 7, а). При сборке проверяют также относительное смещение звездочек в плоскости их осей (табл. 2).
Таблица 2. Допустимое относительное смещение звездочек в плоскости их осей, мм
| Межцентровое расстояние | Смещение |
| До 500 | 1,0 |
| 500-1000 | 1,5 |
| Свыше 1000 | 2,0 |
Допускается незначительный перекос (рис. 7, а) или смещение параллельно плоскости линейки (рис. 7, б), обеспечивающие плавное сбегание и набегание цепи.

Рис. 7. Схема проверки правильности установки звездочек: а – при перекосе; б – при параллельном смещении оси
Длину цепи выбирают в зависимости от расстояния между центрами звездочек.
Цепи не должны быть чрезмерно натянуты, но и не должны иметь большого провисания. Шаг цепи должен строго соответствовать шагу звездочки или зубчатого колеса, иначе звенья цепи будут набегать на зубья звездочек, а это вызовет поломку звездочки или обрыв цепи.
Валы, на которых расположены звездочки, должны быть параллельны между собой; средние линии звездочек должны лежать в одной плоскости.
Концы отрезка цепи соединяют при помощи соединительных или переходных звеньев. Для втулочно-роликовой цепи соединительное звено представляет собой два валика, скрепленных пластинками (рис. 8, а).

Рис. 8. Соединительные звенья цепи
Таким звеном можно соединить только цепь, имеющую четное число звеньев. Для соединения концов цепи одну пластину снимают, валики вставляют в отверстия втулок конечных звеньев, затем устанавливают снятую пластину и зашплинтовывают валики. Если требуется собрать цепь с нечетным числом шагов, то вводится переходное звено (рис. 8, б). По такой же схеме собираются другие типы цепей.
При монтаже на звездочках для стягивания цепи применяют специальные стяжки (рис. 9).

Рис. 9. Приспособления для соединения звеньев втулочно-роликовой и зубчатой цепи
Установленная на звездочки цепь должна иметь некоторое провисание. Для горизонтальных цепных передач минимальная стрела провисания (в мм):
fmin = 11, 4√A3 ;
максимально допустимая стрела провисания:
2.1. Технические требования, предъявляемые к сборке цепных передач
Оси валов, на которых расположены звездочки, должны быть взаимно параллельны (допустимое отклонение 0,1 мм на длине 1000 мм).
Звездочки не должны быть смещены одна относительно другой в плоскости движения цепи. Допустимое смещение звездочек составляет 1-2 мм на каждые 1000 мм.
Пластины цепи должны быть параллельны между собой. Цепи не должны быть чрезмерно натянутыми, но и не должны иметь большого провисания.
Шаг цепи должен строго соответствовать шагу звездочки, иначе звенья цепи будут набегать на зубья звездочки, а это вызовет поломку зубьев или обрыв цепи.
Передачи должны работать плавно, без рывков. Допустимое биение оговаривается в технических условиях.
Пригонка и посадка звездочек на валы и выверка их производятся так же, как и у зубчатых колес.
Просмотров: 2 707
Конструкция ступицы и диска звездочек цепных передач
Ступица и диск звездочки очень часто отливаются или фрезеруются в качестве единой детали. Ступица служит для крепежа изделия на ведущем или ведомом валу механизма. Она должна гарантировать хорошую фиксацию, исключающую осевые и радиальные биения детали на валу. По этому к качеству поверхности внутри предъявляют большие требования. Крепление выполняется при помощи:
- шлица для быстроходных и высоконагруженных цепных приводов;
- шпонки для тихоходных цепных приводов.

Диаметр ступицы должен удовлетворять двум требованиям:
- гарантировать прочность системы;
- не утяжелять ее сверх нужного.
Для чугунных деталей его в большинстве случаев подбирают равным 1,65 от диаметра вала, для стальных показатель расчета уменьшается до 1,55.
Длина ступицы устанавливается характером фиксации на валу- шпонкой или шлицем и в большинстве случаев расчет делают в диапазоне 1,2-1,5 от диаметра вала.
Для звездочек малых размеров ширина диска подбирается равной ширине зубца. Для изделий внушительных размеров, особенно высоконагруженных, ширину делают больше до 5%, в зависимости от радиуса закругления основания зубца.
Рассчитаные размеры округляются до близлежащего числа из обычного ряда размеров.
Размеры венца звездочек
При конструировании звездочки цепных передач учитывают, что она должна выполнять ряд основных функций:
- передавать момент вращения с ведущего вала на ведомый;
- захватывать и высвобождать звенья цепи без рывков и ударов;
- удерживать механизм в плоскости вращения.
Для этого ее форма и размеры должны строго соответствовать результатам расчета.
Согласно рекомендациям ГОСТ 591-69, регламентирующего звездочки к приводным роликовым и втулочным цепям при проектировании исходят из следующих начальных параметров:
- шаг цепи t;
- количество зубцов z;
- диаметр окружности зацепления d1;
Основные размеры, определяющие геометрическую форму изделия, это:
- диаметр делительной окружности D дел;
- диаметр окружности выступов D выст;
- радиус впадин r;

Расчет параметров звездочки цепной передачи по заданному шагу цепи осуществляется в следующей последовательности:
- Оси шарниров звеньев во время зацепления с зубцами цепного привода располагаются на делительной окружности, расчет диаметра проводят по формуле:
- Расчет окружности выступов:
- Расчет радиуса впадин (в мм) r = 0,5025 * d1 + 0,05.
- Расчет диаметра окружности впадин D впад = D дел — 2 * r.
При построении чертежа звездочки для цепной передачи D выст рассчитывают с точностью до 0,1 миллиметра, другие параметры-с точностью до 0,01 мм.
Как рассчитать передаточное число
Шестерня и колесо имеют разное количество зубов с одинаковым модулем и пропорциональный размер диаметров. Передаточное число показывает, сколько оборотов совершит ведущая деталь, чтобы провернуть ведомую на полный круг. Зубчатые передачи имеют жесткое соединение. Передающееся количество оборотов в них не меняется. Это негативно сказывается на работе узла в условиях перегрузок и запыленности. Зубец не может проскользнуть, как ремень по шкиву и ломается.
Расчет без учета сопротивления
В расчете передаточного числа шестерен используют количество зубьев на каждой детали или их радиусы.
Где u12 – передаточное число шестерни и колеса;
Z2 и Z1 – соответственно количество зубьев ведомого колеса и ведущей шестерни.
Знак «+» ставится, если направление вращения не меняется. Это относится к планетарным редукторам и зубчатым передачам с нарезкой зубцов по внутреннему диаметру колеса. При наличии паразиток – промежуточных деталей, располагающихся между ведущей шестерней и зубчатым венцом, направление вращения изменяется, как и при наружном соединении. В этих случаях в формуле ставится «–».
При наружном соединении двух деталей посредством расположенной между ними паразитки, передаточное число вычисляется как соотношение количества зубьев колеса и шестерни со знаком «+». Паразитка в расчетах не участвует, только меняет направление, и соответственно знак перед формулой.
Обычно положительным считается направление движения по часовой стрелке. Знак играет большую роль при расчетах многоступенчатых редукторов. Определяется передаточное число каждой передачи отдельно по порядку расположения их в кинематической цепи. Знак сразу показывает направление вращения выходного вала и рабочего узла, без дополнительного составления схем.
Вычисление передаточного числа редуктора с несколькими зацеплениями – многоступенчатого, определяется как произведение передаточных чисел и вычисляется по формуле:
Способ расчета передаточного числа позволяет спроектировать редуктор с заранее заданными выходными значениями количества оборотов и теоретически найти передаточное отношение.
Зубчатое зацепление жесткое. Детали не могут проскальзывать относительно друг друга, как в ременной передаче и менять соотношение количества вращений. Поэтому на выходе обороты не изменяются, не зависят от перегруза. Верным получается расчет скорости угловой и количества оборотов.
КПД зубчатой передачи
Для реального расчета передаточного отношения, следует учитывать дополнительные факторы. Формула действительна для угловой скорости, что касается момента силы и мощности, то они в реальном редукторе значительно меньше. Их величину уменьшает сопротивление передаточных моментов:
- трение соприкасаемых поверхностей;
- изгиб и скручивание деталей под воздействием силы и сопротивление деформации;
- потери на шпонках и шлицах;
- трение в подшипниках.
Для каждого вида соединения, подшипника и узла имеются свои корректирующие коэффициенты. Они включаются в формулу. Конструктора не делают расчеты по изгибу каждой шпонки и подшипника. В справочнике имеются все необходимые коэффициенты. При необходимости их можно рассчитать. Формулы простотой не отличаются. В них используются элементы высшей математики. В основе расчетов способность и свойства хромоникелевых сталей, их пластичность, сопротивление на растяжение, изгиб, излом и другие параметры, включая размеры детали.
Что касается подшипников, то в техническом справочнике, по которому их выбирают, указаны все данные для расчета их рабочего состояния.
При расчете мощности, основным из показателей зубчатых зацепления является пятно контакта, оно указывается в процентах и его размер имеет большое значение. Идеальную форму и касание по всей эвольвенте могут иметь только нарисованные зубья. На практике они изготавливаются с погрешностью в несколько сотых долей мм. Во время работы узла под нагрузкой на эвольвенте появляются пятна в местах воздействия деталей друг на друга. Чем больше площадь на поверхности зуба они занимают, тем лучше передается усилие при вращении.
Все коэффициенты объединяются вместе, и в результате получается значение КПД редуктора. Коэффициент полезного действия выражается в процентах. Он определяется соотношением мощности на входном и выходном валах. Чем больше зацеплений, соединений и подшипников, тем меньше КПД.
Чертеж звездочки цепной передачи с размерами
ГОСУДАРСТВЕННЫЙ СТАНДАРТ СОЮЗА ССР
ЕДИНАЯ СИСТЕМА КОНСТРУКТОРСКОЙ ДОКУМЕНТАЦИИ
ПРАВИЛА ВЫПОЛНЕНИЯ ЧЕРТЕЖЕЙ РАЗЛИЧНЫХ ИЗДЕЛИЙ
ПРАВИЛА ВЫПОЛНЕНИЯ РАБОЧИХ ЧЕРТЕЖЕЙ ЗВЕЗДОЧЕК ПРИВОДНЫХ РОЛИКОВЫХ И ВТУЛОЧНЫХ ЦЕПЕЙ
ГОСУДАРСТВЕННЫЙ СТАНДАРТ СОЮЗА ССР
Единая система конструкторской документации
ПРАВИЛА ВЫПОЛНЕНИЯ РАБОЧИХ ЧЕРТЕЖЕЙ ЗВЕЗДОЧЕК ПРИВОДНЫХ РОЛИКОВЫХ И ВТУЛОЧНЫХ ЦЕПЕЙ
Unified system for design documentation. Rules for making working drawings of sprocket wheels for roller and sleeve-type chains
Дата введения 01.01.71
2. Рабочие чертежи звездочек приводных роликовых и втулочных цепей должны быть выполнены в соответствии с требованиями стандартов Единой системы конструкторской документации и настоящего стандарта.
ширину зуба звездочки;
ширину венца (для многорядной звездочки);
радиус закругления зуба (в осевой плоскости);
расстояние от вершины зуба до линии центров дуг закруглений (в осевой плоскости);
диаметр обода (наибольший);
радиус закругления у границы обода (при необходимости);
диаметр окружности выступов;
шероховатость поверхности профиля зубьев, торцовых поверхностей зубьев, поверхности выступов и шероховатость поверхностей закругления зубьев (в осевой плоскости).
первая часть — основные данные (для изготовления);
Другие калькуляторы
— расчет ресурса шариковых радиальных и радиально-упорных подшипников
— расчет ресурса шариковых упорных и упорно-радиальных подшипников
— расчет ресурса роликовых радиальных и радиально-упорных подшипников
— расчет ресурса роликовых упорных и упорно-радиальных подшипников
— расчет плоскоременной передачи
— расчет клиноременной передачи
— расчет зубчатой ременной передачи
ООО»Кайтек», 2020. Любое использование либо копирование материалов или подборки материалов сайта, может осуществляться лишь с разрешения автора (правообладателя) и только при наличии ссылки на сайт www.caetec.ru
Конструкция ступицы и диска звездочек цепных передач
Ступица и диск звездочки очень часто отливаются или фрезеруются в качестве единой детали. Ступица служит для крепежа изделия на ведущем или ведомом валу механизма. Она должна гарантировать хорошую фиксацию, исключающую осевые и радиальные биения детали на валу. По этому к качеству поверхности внутри предъявляют большие требования. Крепление выполняется при помощи:
- шлица для быстроходных и высоконагруженных цепных приводов;
- шпонки для тихоходных цепных приводов.

Диаметр ступицы должен удовлетворять двум требованиям:
- гарантировать прочность системы;
- не утяжелять ее сверх нужного.
Для чугунных деталей его в большинстве случаев подбирают равным 1,65 от диаметра вала, для стальных показатель расчета уменьшается до 1,55.
Длина ступицы устанавливается характером фиксации на валу- шпонкой или шлицем и в большинстве случаев расчет делают в диапазоне 1,2-1,5 от диаметра вала.
Для звездочек малых размеров ширина диска подбирается равной ширине зубца. Для изделий внушительных размеров, особенно высоконагруженных, ширину делают больше до 5%, в зависимости от радиуса закругления основания зубца.
Рассчитаные размеры округляются до близлежащего числа из обычного ряда размеров.
Звездочки под втулку
Данные звездочки фиксируются на валу посредством переходной втулки типа «тапербуш». Втулка крепится к зведочке с помощью трех винтов, фиксацию узла на валу обеспечивает шпоночное соединение. В ассортименте представлены звездочки TBS 08В-1, 10В-1 и12А-1 для приводных цепей ПР.
Цепная звездочка представляет собой металлическое колесо с зубьями, которые используются для зацепления роликов приводной цепи. Число зубьев – один из основных параметров звездочек. Кроме того, в зависимости от количества рядов зубьев различают однорядные и многорядные приводные звездочки. Подобное оборудование используется в сельскохозяйственных и промышленных машинах, в строительных механизмах, гусеничном транспорте и т.д.
Предлагаемые нами звездочки для цепей типа ПР производятся из конструкционной углеродистой стали марки 45 с твердостью до 42 HRC. Это один из наиболее распространенных материалов для ответственных деталей приводных механизмов, требующих повышенной прочности.
В «Техприводе» Вы можете купить цепные звездочки российского производства. Демократичная цена — наше главное преимущество. По вопросам приобретения продукции обращайтесь к нашим специалистам.
Классификация передач. Приводные роликовые цепи различают (рис. 77): однорядные нормальные (ПР), однорядные длиннозвенные облегченные (ПРД), однорядные усиленные (ПРУ), двух (2ПР)-, трех (ЗПР)-и четырехрядные (4ПР) и с изогнутыми пластинками (ПРИ).
Рис.77. Виды приводных цепей: а – втулочная однорядная, б – роликовая однорядная, в – роликовая двухрядная, г – роликовая с изогнутыми пластинами, д – зубчатая, е – фасонозвенная крючковая, ж – фасонозвенная штыревая.
Назначение. Цепные передачи относится к механическим передачам зацепления с гибкой связью и применяют для передачи вращательного вращения между валами расположенным на значительных расстояниях и при необходимости обеспечить постоянное передаточное отношение. Цепная передача состоит из расположенных соосно на некотором расстоянии друг от друга звездочек, и охватывающей их цепи. Вращение ведущей звездочки преобразуется во вращение ведомой благодаря сцеплению цепи с зубьями звездочек. В связи с вытягиванием цепей по меpe их износа натяжное устройство цепных передач должно регулировать натяжение цепи. Это регулирование, по аналогии с ременными передачами, осуществляют либо перемещением вала одной из звездочек, либо с помощью регулирующих звездочек или роликов.
Читать также: Проверка реле регулятора генератора ваз 2110
Преимущества. Благодаря зацеплению отсутствует скольжение тягового органа. Возможность передачи движения между валами на большие расстояния (до 8М). Меньшие габариты, чем у ременных передач, особенно по ширине. Меньшие нагрузки на опоры валов передачи. Возможность передачи вращения одной цепью нескольким валам. Больший КПД.
Недостатки. Повышенный шум и вибрации вследствие удара звеньев цепи по звездочкам, которые повышаются с увеличением ее скорости. Увеличение шага цепи в процессе эксплуатации в связи с ее износом. Необходимость устройств для натяжения цепей. Отсутствие жидкостного трения в шарнирах увеличивает их износ поэтому необходима смазка периодическая или постоянная. Скорость цепи неравномерна, особенно при малых числах зубьев звездочек, что создает дополнительные динамические нагрузки и колебания передаточного числа.
Сферы применения. Цепные передачи применяют в транспортных, сельскохозяйственных, строительно-дорожных, горных и нефтяных машинах, а также в металлорежущих станках.
По мощности передачи применяются при 100КВт, (в некоторых передачах до 3000КВТ), по окружной скорости – 15М/с, по передаточным числам 7, КПД цепных передач 0,94…0,97.
Геометрический расчет. Центры шарниров цепи при зацеплении с зубьями звездочки располагаются на делительной окружности звездочек, который определяется
, (13.1)
Где Р – Шаг цепи; – Число зубьев звездочки.
Для приводных цепей зубья звездочек определяют все размеры зубьев, а также диаметр вершин И впадин зубьев этих звездочек (рис. 78).
Минимальное межосевое расстояние Атіп Цепной передачи принимают в зависимости от передаточного числа И Передачи и условия, что угол обхвата цепью меньшей звездочки составляет не менее 120°, т. е. при И Расчет цепной передачи – 3.3 out of 5 based on 11 votes
Цепные передачи
Общие сведения о цепных передачах
Цепная передача относится к передачам зацеплением с гибкой связью. Мощность в цепной передаче посредством многозвенной шарнирной цепи передается от ведущей к ведомой звездочке, размещенных на параллельных валах.
***
Классификация цепных передач
Цепные передачи классифицируют по типу применяемой цепи. В настоящее время применяют роликовые, втулочные и зубчатые цепи, которые, в свою очередь, могут быть однорядными и многорядными.

В роликовых и втулочных цепях зацепление звеньев со звездочкой осуществляется через ролик или втулку, при этом долговечность цепи возрастает, но возрастает ее масса и стоимость.
Зубчатые цепи набирают из пластин, при этом большое значение на эксплуатационные качества цепи имеет конструкция шарнира. В конструкцию входит направляющая пластина, предотвращающая сползание цепи со звездочки.
По сравнению со втулочными зубчатые цепи работают более плавно, обеспечивают большую кинематическую точность (плавность хода передачи), могут передавать бóльшую мощность, имеют высокий КПД, но их масса и стоимость значительно выше.
В зависимости от типа применяемой цепи зависит конструкция звездочек цепной передачи. Звездочки для втулочной и роликовой цепи представлена на рис. 2 слева, звездочка для зубчатой цепи – справа.
***
Достоинства цепных передач
По сравнению с зубчатыми передачами: Преимущество цепных передач в сравнении с зубчатыми заключается в том, что они способны передавать движение между валами при значительных межосевых расстояниях (до 8 м).
По сравнению с ременными передачами: По сравнению с ременными передачами (передачами трением) цепные передачи (передачи зацеплением) выгодно отличаются компактностью, способностью передавать бóльшие мощности при одинаковых размерах, постоянством передаточного числа и меньшей требовательностью к предварительному натяжению цепи (иногда предварительный натяг для цепных передач не применяется). Кроме того, цепные передачи устойчиво работают при малых межосевых расстояниях между звездочками, тогда как ременная передача может пробуксовывать при малых углах обхвата шкива ремнем.
К достоинствам цепных передач можно отнести высокий КПД и безотказность при работе в условиях частых пусков и торможений.
***
Недостатки цепных передач
1. Значительный шум и вибрация при работе вследствие удара звена цепи о зуб звездочки при входе в зацепление, особенно при малых числах зубьев и большом шаге (этот недостаток ограничивает применение цепных передач при больших скоростях).
2. Сравнительно быстрое изнашивание шарниров цепи, необходимость применения системы смазывания и установки в закрытых корпусах.
3. Удлинение цепи вследствие износа шарниров и сход ее со звездочек, что требует применения натяжных устройств.
4. По сравнению с зубчатыми передачами цепные передают движение менее плавно и равномерно.
***
Область применения цепных передач
Цепные передачи находят широкое применение во многих областях машиностроения, конструкциях сельскохозяйственных и дорожных машин, станкостроении и т. д. Их применяют в станках, мотоциклах, велосипедах, промышленных роботах, буровом оборудовании, подъемно-транспортных, строительно-дорожных, сельскохозяйственных, полиграфических и других машинах для передачи движения между параллельными валами на значительные расстояния, когда применение зубчатых передач нецелесообразно, а ременных невозможно.
Цепные передачи наибольшее применение получили для передачи мощностей до 120 кВт при окружных скоростях до 15 м/сек.
***
Звездочки под втулку
Данные звездочки фиксируются на валу посредством переходной втулки типа «тапербуш». Втулка крепится к зведочке с помощью трех винтов, фиксацию узла на валу обеспечивает шпоночное соединение. В ассортименте представлены звездочки TBS 08В-1, 10В-1 и12А-1 для приводных цепей ПР.
Цепная звездочка представляет собой металлическое колесо с зубьями, которые используются для зацепления роликов приводной цепи. Число зубьев – один из основных параметров звездочек. Кроме того, в зависимости от количества рядов зубьев различают однорядные и многорядные приводные звездочки. Подобное оборудование используется в сельскохозяйственных и промышленных машинах, в строительных механизмах, гусеничном транспорте и т.д.
Предлагаемые нами звездочки для цепей типа ПР производятся из конструкционной углеродистой стали марки 45 с твердостью до 42 HRC. Это один из наиболее распространенных материалов для ответственных деталей приводных механизмов, требующих повышенной прочности.
В «Техприводе» Вы можете купить цепные звездочки российского производства. Демократичная цена — наше главное преимущество. По вопросам приобретения продукции обращайтесь к нашим специалистам.
Классификация передач. Приводные роликовые цепи различают (рис. 77): однорядные нормальные (ПР), однорядные длиннозвенные облегченные (ПРД), однорядные усиленные (ПРУ), двух (2ПР)-, трех (ЗПР)-и четырехрядные (4ПР) и с изогнутыми пластинками (ПРИ).
Рис.77. Виды приводных цепей: а – втулочная однорядная, б – роликовая однорядная, в – роликовая двухрядная, г – роликовая с изогнутыми пластинами, д – зубчатая, е – фасонозвенная крючковая, ж – фасонозвенная штыревая.
Назначение. Цепные передачи относится к механическим передачам зацепления с гибкой связью и применяют для передачи вращательного вращения между валами расположенным на значительных расстояниях и при необходимости обеспечить постоянное передаточное отношение. Цепная передача состоит из расположенных соосно на некотором расстоянии друг от друга звездочек, и охватывающей их цепи. Вращение ведущей звездочки преобразуется во вращение ведомой благодаря сцеплению цепи с зубьями звездочек. В связи с вытягиванием цепей по меpe их износа натяжное устройство цепных передач должно регулировать натяжение цепи. Это регулирование, по аналогии с ременными передачами, осуществляют либо перемещением вала одной из звездочек, либо с помощью регулирующих звездочек или роликов.
Читать также: Проверка реле регулятора генератора ваз 2110
Преимущества. Благодаря зацеплению отсутствует скольжение тягового органа. Возможность передачи движения между валами на большие расстояния (до 8М). Меньшие габариты, чем у ременных передач, особенно по ширине. Меньшие нагрузки на опоры валов передачи. Возможность передачи вращения одной цепью нескольким валам. Больший КПД.
Недостатки. Повышенный шум и вибрации вследствие удара звеньев цепи по звездочкам, которые повышаются с увеличением ее скорости. Увеличение шага цепи в процессе эксплуатации в связи с ее износом. Необходимость устройств для натяжения цепей. Отсутствие жидкостного трения в шарнирах увеличивает их износ поэтому необходима смазка периодическая или постоянная. Скорость цепи неравномерна, особенно при малых числах зубьев звездочек, что создает дополнительные динамические нагрузки и колебания передаточного числа.
Сферы применения. Цепные передачи применяют в транспортных, сельскохозяйственных, строительно-дорожных, горных и нефтяных машинах, а также в металлорежущих станках.
По мощности передачи применяются при 100КВт, (в некоторых передачах до 3000КВТ), по окружной скорости – 15М/с, по передаточным числам 7, КПД цепных передач 0,94…0,97.
Геометрический расчет. Центры шарниров цепи при зацеплении с зубьями звездочки располагаются на делительной окружности звездочек, который определяется
, (13.1)
Где Р – Шаг цепи; – Число зубьев звездочки.
Для приводных цепей зубья звездочек определяют все размеры зубьев, а также диаметр вершин И впадин зубьев этих звездочек (рис. 78).
Минимальное межосевое расстояние Атіп Цепной передачи принимают в зависимости от передаточного числа И Передачи и условия, что угол обхвата цепью меньшей звездочки составляет не менее 120°, т. е. при И Расчет цепной передачи – 3.3 out of 5 based on 11 votes





































