Принцип работы газовых редукторов
Принцип действия редуктора определяется его характеристикой. У редукторов прямого действия — падающая характеристика, то есть рабочее давление по мере расхода газа из баллона несколько снижается, у редукторов обратного действия — возрастающая характеристика, то есть с уменьшением давления газа в баллоне рабочее давление повышается.
Редукторы различаются по конструкции, принцип действия и основные детали одинаковы для каждого редуктора.

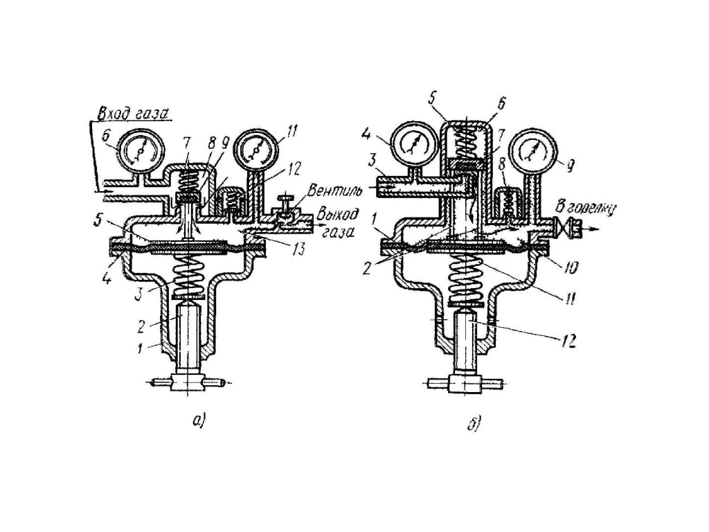
Редуктор обратного действия (рис. 1 а) работает следующим образом. Сжатый газ из баллона поступает в камеру высокого давления 8 и препятствует открыванию клапана 9. Для подачи газа в горелку или резак необходимо вращать по часовой стрелке регулирующий винт 2, который ввертывается в крышку 1. Винт сжимает нажимную пружину 3, которая в свою очередь выгибает гибкую резиновую мембрану 4 вверх. При этом передаточный диск со штоком сжимает обратную пружину 7, поднимая клапан 9, который открывает отверстие для прохода газа в камеру низкого давления 13. Открыванию клапана препятствует не только давление газа в камере высокого давления, но и пружина 7, имеющая меньшую силу, чем пружина 3. Автоматическое поддержание рабочего давления на заданном уровне происходит следующим образом. Если отбор газа в горелку или резак уменьшится, то давление в камере низкого давления повысится, нажимная пружина З сожмётся и мембрана 4 выправится, а передаточный диск со штоком 5 опустится и редуцирующий клапан 9 под действием пружины 7 прикроет седло клапана 10, уменьшив подачу газа в камеру низкого давления. При увеличении отбора газа процесс будет автоматически повторяться. Давление в камере высокого давления 8 измеряется манометром 6, а в камере низкого давления 13 — манометром 11. Если давление в рабочей камере повысится сверх нормы, то при помощи предохранительного клапана 12 произойдет сброс газа в атмосферу.
Помимо однокамерных редукторов применяют двухкамерные, в которых давление газа понижается постепенно в двух камерах редуцирования, расположенных последовательно одна за другой. Двухкамерные (двухступенчатые) редукторы обеспечивают более постоянное рабочее давление и менее склонны к замерзанию, однако они сложнее по конструкции, поэтому двухкамерные (двухступенчатые) редукторы используют тогда, когда необходимо поддерживать рабочее давление с повышенной точностью.
Редукторы прямого действия. В редукторах прямого действия (рис. 1, б) газ через штуцер 3, попадая в камеру высокого давления 6 и действуя на клапан 7, стремится открыть его (а в редукторах обратного действия — закрыть его). Редуцирующий клапан 7 прижимается к седлу запорной пружиной 5 и преграждает доступ газа высокого давления. Мембрана 1 стремится отвести редуцирующий клапан 7 от седла и открыть доступ газа высокого давления в камеру низкого (рабочего) давления 10. В свою очередь мембрана 1 находится под действием двух взаимно противоположных сил. С наружной стороны на мембрану 1 через нажимной винт 12 действует нажимная пружина 11, которая стремится открыть редуцирующий клапан 7, а с внутренней стороны камеры редуктора на мембрану давит редуцированный газ низкого давления, противодействующий нажимной пружине 11. При уменьшении давления в рабочей камере нажимная пружина 11 распрямляется, и клапан уходит от седла, при этом происходит увеличение притока газа в редуктор. При возрастании давления в рабочей камере 10 нажимная пружина 11 сжимается, клапан подходит ближе к седлу и поступление газа в редуктор уменьшается. Рабочее давление определяется натяжением нажимной пружины 11, которое изменяется регулировочным винтом 12. При вывертывании регулировочного винта 12 и ослаблении нажимной пружины 11 снижается рабочее давление и, наоборот, при ввертывании регулировочного винта сжимается нажимная пружина 11 и происходит повышение рабочего давления газа. Для контроля за давлением на камере высокого давления установлен манометр 4, а на рабочей камере — манометр 9 и предохранительный клапан 8.
В практике наибольшее распространение получили редукторы обратного действия как более удобные и безопасные в эксплуатации.
Правила эксплуатации газовых редукторов
В инструкции есть правило о предварительной проверке редуктора на исправность перед началом эксплуатации. Необходимо соблюдать периодичность поверки устройства соответствующими службами. Вентиль открывается для проверки и считываются показания стрелки. Рабочие параметры ставятся по значениям манометра низкого напора. Регулировка проводится медленным поворотом вентиля.
Не рекомендуется:
- работать со сваркой вблизи действующего оборудования;
- проверять утечку горящей спичкой;
- отогревать редуктор при замерзании открытым пламенем;
- устанавливать регуляторы иного назначения;
- применять несоответствующие манометры.
Редуктор углекислотный: назначение
Редуктор углекислотный предназначен для регулировки и снижения величины давления газа, который поступает из сети или баллона, а также для поддержания постоянного значения рабочего давления газа.
Согласно ГОСТ 6668-78 углекислотные редукторы классифицируются на следующие типы:
- центральные (Ц) – ЦКЗ;
- универсальные (У) – УВН, УКН;
- сетевые (С) – САО, СКО, СМО, СПО;
- баллонные (Б) – БКД, БКО, БПО;
- рамповые (Р) – РПД, РКЗ, РАД.
Согласно ГОСТ 13861-89 углекислотные редукторы для газопламенной обработки металлов, классифицируются:
- по принципу действия на: редукторы прямого действия;
- редукторы обратного действия;
по способу задания рабочего давления и числу ступеней редуцирования:
- одноступенчатые с пружинным заданием давления (О);
двухступенчатые с пружинным заданием давления (Д);
одноступенчатые с пневматическим задатчиком давления (З).
Углекислотные редукторы имеют черный цвет окраски и отличаются друг от друга способом присоединения к баллону или сети.
Редуктор углекислотный: принцип действия и устройство
Углекислотные редукторы, используемые в современной индустрии при ведении газосварочных работ и резке металлов, различаются по принципу действия.
У редукторов прямого действия — падающая характеристика (рабочее давление снижается по мере расхода газа), у редукторов обратного действия — возрастающая характеристика (рабочее давление повышается с уменьшением давления газа в баллоне).
Для осуществления работы, углекислотные редукторы, присоединяются к баллону с газом при помощи накидной гайки.
В процессе работы, газ, проходя входной фильтр, поступает в камеру высокого давления. Регулировка рабочего давления газа при сварке, осуществляется вращением регулировочного винта. При его повороте по часовой стрелке, усилие, посредством нажимной пружины последовательно воздействует на нажимной диск, мембрану, толкатель и редуцирующий клапан. Редуцирующий клапан, в результате этого усилия, приходит в движение и открывает доступ кислорода в рабочую камеру через образовавшийся зазор между клапаном и седлом.
Таким образом, происходит автоматическое поддержание величины рабочего давления в требуемом интервале.
Современные баллонные углекислотные редукторы выпускаются различных моделей и комплектаций. В зависимости от модели, некоторые из них могут оснащаться специальными приборами – манометрами (низкого выходного и высокого входного) давления, которые определяют давление газа, соответственно выходящего и входящего из редуктора и в редуктор.
Выпускаются углекислотные редукторы и не имеющие указанных измерительных приборов.
Отбор газа в углекислотный редуктор, происходит при помощи ниппеля, присоединенного к редуктору гайкой. К самому ниппелю присоединяется специальный рукав, который идет непосредственно к газовому резаку или к газовой горелке.
Эксплуатация и проверка исправности углекислотного редуктора
Перед работой углекислотный редуктор необходимо проверить на предмет работоспособности. Проверка предусматривает:
- проверку исправности манометров, стрелки которых должны находиться на нуле; проверку регулировочного винта, который должен быть вывернут (клапан закрыт);
- проверку давления в рабочей камере (проверяется после подсоединения шланга к редуктору);
- проверку плотности закрытия клапана редуктора и герметичности всех соединений (проверяется закрытием вентиля горелки и выкручиванием регулировочного винта);
- проверку возможной утечки в редукторе (проверяется при помощи мыльной пены, нанесенной на отверстие отводного штуцера при полностью вывернутом положении регулировочного винта).
Правильная эксплуатация углекислотного редуктора предусматривает исключение возможности попадания на редуктор масел, жиров и прочих загрязнений.
Поставляемые промышленностью газовые углекислотные редукторы должны иметь следующие маркировки:
- товарный знак предприятия изготовителя;
- марка редуктора;
- год выпуска.
Характеристика
- Кислородные – предназначены для регулировки подачи кислорода в баллоне. Распространенные маркировки: СКО — 10-2, БКО — 50 мини, РК-70, РКЗ — 500-2. Окрашены в голубой цвет, крепятся с помощью накидных гаек. Пропускная способность от 10 до 500 м3/час. Цена варьируется от 1600 до 21500 рублей.
- Пропановые – регулируют подачу пропана. Маркировки: БПО — 5, СПО — 6, РДСГ-1-MTL (лягушка). Окрашены в красный цвет, крепятся с помощью накидных гаек. Пропускная способность от 1,5 до 1,6 м3/час. Цена – от 400 до 1600 рублей.
- Углекислотные – для регулировки подачи углекислотного газа. Маркировки: УР-6-6, БУО-5-4. Могут быть окрашены в черный цвет или в красный с синим. Крепятся накидными гайками. Пропускная способность 5-6 м3/час. Цена 900-1500 рублей.
- Ацетиленовые – регулируют подачу ацетилена. Маркировки: БАО-5-4, РАО-30-1, САО — 10. Крепятся хомутами. Окрашены в белый цвет. Пропускают от 5 до 30 м3/час. Цена от 1600 до 14300 рублей.
- Аргоновые. Маркировки бывают: АР-40-4ДМ, АР-40-КР1-м-р. Цвет белый или черный. Пропускают 1,8-5,4 м3/час. Цена 1400-1750 рублей.
- Гелиевые. Для регулировки гелия. Маркируются: Г-70-КР1, Г-70-КР1-м. Крепятся гайками. Цвет белый либо черный. Пропускная способность 4,2. Цена около 1500.
пропускная способность (наибольшее значение) м3/ч
давление газа на входе, (наибольшее значение) МПа (кгс/см2)
рабочее давление газа, (наибольшее значение) МПа (кгс/см2)
В своем блоге буду описывать основы технологии судоремонта, методы дефектоскопии, восстановления и упрочнения деталей, виды и методы ремонта судов и механизмов.Будет приведена технологическая документация на ремонт и изготовление деталей.
Правила безопасной эксплуатации
Учитывая взрыво- и пожароопасность кислорода, такие изделия согласно нормам ГОСТ 12.2.008-75 должны периодически подвергаться тщательному регламентному обслуживанию. Применительно к кислородным редукторам типа БКО 50-4 и БКО 50-5 правила обслуживания включают в себя:
- Проверку хода регулирующего винта/маховика от одного крайнего положения в другое: оно должно выполняться плавно, и без заеданий.
- Присоединительные элементы не должны иметь внешних механических повреждений – трещин, царапин, а также быть очищенными от масел, жиров и загрязнений.
- Переодическая проверка манометров не должна быть реже одного раза в год. Критерием необходимости в проверке считается повышенная инерционность стрелки прибора.
- В качестве уплотняющих элементов – прокладок, ниппелей и пр. – не могут использоваться детали, не соответствующие условиям эксплуатации кислородных редукторов.
- Перед каждым применением проверяется (по манометру) герметичность соединений, утечка кислорода из баллона недопустима.
- При присоединённом к редуктору баллоне с кислородом запрещается выполнять какую-либо регулировку.
- Согласно правилам охраны труда между редуктором для кислородного баллона и остальной газосварочной аппаратурой стоит предусматривать монтаж предохранительных устройств, в том числе и для гашения пламени. Это могут быть обратные клапаны, рассчитанные на давление в баллоне, а также предохранительные затворы.
Цена на кислородный редуктор определяется его конструкцией и эксплуатационными возможностями. Для одноступенчатых редукторов цена колеблется в пределах 1800…2000 руб. (БКО 50-4) и 1100…1200 руб. (БКО 50-5). Двухступенчатые устройства (например, БКД-25 или Multi-Stage RG S2 O2 чешского производства) стоят значительно дороже — 11000…12000 руб.
Эксплуатация редуктора.
До присоединения кислородного редуктора необходимо тщательно проверить, нет ли на штуцере и накидной гайке следов масла и т. п. При обнаружении следов жировых веществ редуктор надо промыть в каком- либо растворителе (например, в авиационном бензине).
Далее необходимо проверить исправность резьбы накидной гайки, очистить ее от грязи и пыли, а также проверить наличие и исправность фибровой (для кислородных редукторов) или кожаной (для ацетиленовых редукторов) прокладки, от которой зависит плотность соединения редуктора с вентилем.
После продувания кислородного вентиля баллона или магистрали для удаления из них грязи или стружки, которые могут попасть в редуктор и испортить его клапан, к штуцеру вентиля привертывается и закрепляется ключом накидная гайка кислородного редуктора.
Точно так же необходимо продуть вентиль ацетиленового баллона до присоединения к нему ацетиленового редуктора.
До пуска газа в редуктор его регулирующий винт должен быть вывернут до полного ослабления нажимной пружины, чтобы при открывании вентиля баллона редуктор не мог быть поврежден. Запорный вентиль на редукторе должен быть открыт. К шланговому ниппелю редуктора присоединяют шланг и укрепляют его прочно хомутиками или мягкой проволокой.
Для пуска газа в редуктор необходимо плавно открыть вентиль баллона на пол-оборота маховичка. Если при этом ненормальностей не наблюдается, то вентиль баллона следует открыть до отказа и вращением нажимного регулирующего винта редуктора по часовой стрелке установить по манометру необходимое рабочее давление. Величина рабочего давления кислорода устанавливается при открытом вентиле резака.
Когда же вследствие наличия масла или резкого пуска кислорода произойдет вспышка или сильное нагревание редуктора, необходимо быстро закрыть вентиль баллона, а редуктор снять и отправить в ремонт.
После установления рабочего давления надо проверить, нет ли утечки газа в местах соединений, по резьбе манометров и т. д. Пропуски газа опасны, так как ацетилен и другие горючие газы образуют с воздухом взрывчатые смеси.
После проверки резак зажигают и регулируют пламя.
В процессе работы необходимо следить, чтобы в редукторе не появлялось утечки, замерзания и т. д.
При прекращении работы на 2—3 мин. можно закрыть только вентили на резаке. Если же работа прекращается на 10—15 мин., то помимо вентилей резака закрывают и запорный вентиль редуктора, не изменяя положения регулирующего винта. При перерывах в работе более 10—15 мин. следует дополнительно вывертыванием регулирующего винта ослабить нажимную пружину.
При длительных перерывах и по окончании работы закрывается вентиль баллона или магистрали и полностью выпускается оставшийся в редукторе газ. Затем вращением регулирующего винта против часовой стрелки ослабляется нажимная пружина.
Область применения
Редукторы этого типа применяют практически во всех отраслях народного хозяйства. В промышленности – при сборке и разделке металлоконструкций, в медицине, для организации подачи газа в палаты и операционные.

Выполнение газопламенных работ
Кислородный редуктор используют в разных отраслях. В частности, при выполнении газопламенных работ. Редуктор обеспечивает постоянную подачу газа. В медицине редукторы устанавливают в систему подачи кислорода по палатам. Не обходятся без подобных устройств и системы подачи воздуха на авиационном транспорте и морском транспорте.
Если вы нашли ошибку, пожалуйста, выделите фрагмент текста и нажмите Ctrl+Enter.

Кислород в баллоне, применяемый при газоацетиленовой сварке, находится под давлением 135…150 атмосфер, поэтому перед работой давление газа следует существенно снизить. Эту роль выполняет кислородный редуктор. Данное устройство не только редуцирует кислородный поток, но и обеспечивает постоянство показателей рабочего давления в ходе всего сварочного процесса.
Редуктор кислородный: назначение
Редуктор кислородный предназначен для регулировки и снижения величины давления газа — кислорода, который поступает из сети или баллона, а также для поддержания постоянного значения рабочего давления газа.
Согласно ГОСТ 6668-78 кислородные редукторы классифицируются на следующие типы:
- центральные (Ц) – ЦКЗ;
- универсальные (У) – УВН, УКН;
- сетевые (С) – САО, СКО, СМО, СПО;
- баллонные (Б) – БКД, БКО, БПО;
- рамповые (Р) – РПД, РКЗ, РАД.
Редуктор кислородный: принцип действия и устройство
Кислородные редукторы, используемые в современной индустрии при ведении газосварочных работ и резке металлов, имеют голубой цвет окраски.
Для осуществления работы, пропановые редукторы, присоединяются к баллону с газом при помощи накидной гайки.
В процессе работы, кислород, проходя входной фильтр, поступает в камеру высокого давления. Регулировка рабочего давления газа при сварке, осуществляется вращением регулировочного винта. При его повороте по часовой стрелке, усилие, посредством нажимной пружины последовательно воздействует на нажимной диск, мембрану, толкатель и редуцирующий клапан. Редуцирующий клапан, в результате этого усилия, приходит в движение и открывает доступ кислорода в рабочую камеру через образовавшийся зазор между клапаном и седлом.
Таким образом, происходит автоматическое поддержание величины рабочего давления в требуемом интервале.
Современные баллонные кислородные редукторы выпускаются различных моделей и комплектаций. В зависимости от модели, некоторые из них могут оснащаться специальными приборами – манометрами (низкого выходного и высокого входного) давления, которые определяют давление газа, соответственно выходящего и входящего из редуктора и в редуктор.
Выпускаются кислородные редукторы и не имеющие указанных измерительных приборов.
Отбор газа в кислородные редуктор, происходит при помощи ниппеля, присоединенного к редуктору гайкой. К самому ниппелю присоединяется специальный рукав, который идет непосредственно к газовому резаку или к газовой горелке.
Технические характеристики некоторых моделей кислородных редукторов
| Показатели | БКО — 50 мини | БКО — 50-4 | БКО — 50 МГ | СКО — 10-2 | РК — 70 | РКЗ — 500-2 |
| Наибольшая пропускная способность V, м3/ч | 50 | 50 | 50 | 10 | 100 | 500 |
| Наибольшее давление газа на входе, P1, MPa (кгс/см2) | 20 (200) | 20 (200) | 20 (200) | 1,6 (16) | 20 (200) | 20 (200) |
| Наибольшее рабочее давление, P2, MPa (кгс/см2) | 1,25 (12,5) | 1,25 (12,5) | 1,25 (12,5) | 0,5 (5) | 7 (70) | 1,6 (16) |
| Масса, кг, не более | 0,85 | 1,5 | 1,2 | 1,5 | 12,2 | 10,0 |
Эксплуатация и проверка исправности кислородного редуктора
Перед работой кислородный редуктор необходимо проверить на предмет работоспособности. Проверка предусматривает:
- проверку исправности манометров, стрелки которых должны находиться на нуле; проверку регулировочного винта, который должен быть вывернут (клапан закрыт);
- проверку давления в рабочей камере (проверяется после подсоединения шланга к редуктору);
- проверку плотности закрытия клапана редуктора и герметичности всех соединений (проверяется закрытием вентиля горелки и выкручиванием регулировочного винта);
- проверку возможной утечки в редукторе (проверяется при помощи мыльной пены, нанесенной на отверстие отводного штуцера при полностью вывернутом положении регулировочного винта).
Правильная эксплуатация кислородного редуктора предусматривает исключение возможности попадания на редуктор масел, жиров и прочих загрязнений.
Поставляемые промышленностью газовые кислородные редукторы должны иметь следующие маркировки:
- товарный знак предприятия изготовителя;
- марка редуктора;
- год выпуска.
Как работает кислородный редуктор
Принцип работы обратного, как наиболее используемого, редуктора следующий. Редуктор по конструкции состоит из двух камер, высокого и низкого давления. Прежде чем поступить в камеру высокого давления от баллона, кислород проходит через фильтр. Между камерами высокого и низкого давления находится мембрана, которая посредством двух пружин воздействует на клапан. Он открывается в зависимости от взаимодействия этих двух пружин.
Что бы установить давление, нужно его отрегулировать при помощи специального регулируемого винта, который открывает клапан. Что бы клапан был перекрыт, винт выкручивают, тем самым ослабляют пружину.

Конструкция кислородного редуктора
Если кислорода уходит больше, чем поступает в камеру низкого давления, пружина, называемая нажимной, деформирует диафрагму своим давлением. При этом клапан открывается на определённый уровень, и кислород начинает увеличивать поступление. Когда объем кислорода в рабочей камере увеличится, его давление, сжимая пружину, деформирует диафрагму в обратную сторону. Этим обеспечивается закрытие клапана и перекрывается подача кислорода. Эта конструкция обеспечивает поддержку нужного давления кислорода в автоматическом режиме.
Два манометра, которые установлены на редукторе, показывают давления высокого – на баллоне или в системе, низкого – на сварочную горелку.
Если модель имеет двухступенчатую конструкцию, это означает, что давление регулируется воздушными камерами, которые называются промежуточными. Они более сложные, более дорогие, но позволяют работать при отрицательных температурах. Подсоединение редуктора к баллону или рампе происходит при помощи специальных накидных гаек. Другие крепежи использовать, в виду взрывоопасности кислорода, не допускается
Также при использовании таких редукторов нужно обратить внимание, при каких температурах он должен использоваться
Возможна ли взаимозаменяемость
Некоторые виды сварочных редукторов взаимозаменяемы, но далеко не все. Так, вместо специализированного редуктора СО2 для сварки допустимо использовать кислородный, но обратную замену производить категорически нельзя.
Кислород — химически активное вещество, сильнейший окислитель, поэтому для работы с ними используются специальные металлы и сплавы. К тому же кислород закачивается в газовые баллоны под давлением, превышающим этот же параметр для углекислоты более чем в 2 раза.
Сварочный редуктор для углекислого газа, накрученный на кислородный баллон, может продержаться, в зависимости от его качества, от нескольких часов до пары недель. Но в нем неминуемо произойдет полное разрушение уплотняющих мембран — основного элемента конструкции, вследствие чего прибор начнет травить.
Во избежание ошибочных действий сварщика на редукторах для горючих и негорючих газов делается разная резьба. Для горючих — левая, для негорючих, соответственно, правая.
Аналогичная резьба и в баллонах ля резки и сварки. При этом кислородный редуктор имеет правую резьбу. Кислород не горит сам по себе, но поддерживает горение. В некоторых условиях он взрывоопасен.
Кислородный редуктор, используемый во время сварки с углекислотным баллоном, ждет другая угроза. Углекислота вызывает промерзание контактирующих с ней деталей до -60 °C. Поскольку регулятор давления, предназначенный для кислорода, и не должен выдерживать такого режима работы, он также начнет разрушаться.
Советы по выбору и правила использования
При выборе редуктора следует учитывать точку размещения. Особых объяснений не нужно, понятно, что рамповый или сетевой редуктор нельзя ставить на баллон. Нельзя ставить на кислородный баллон аргоновый или углекислотный редуктор. Удостоверьтесь в том, что возможное максимальное давление газа на входе не превышает допустимое для данного типа редуктора. При нарушении этого условия создаются предпосылки для аварийного разрушения изделия. Выбирайте устройство в соответствии с необходимым рабочим напряжением.
Сделать выбор между одноступенчатым и двухступенчатым редуктором несложно. В 99% случаев вам достаточно одной ступени. И только при специфических условиях эксплуатации может понадобиться две ступени снижения давления. Это обязательно будет оговорено в технической документации по технологическому процессу. То же самое и с климатическим исполнением: если вы работаете в нормальной климатической зоне, то климатическое исполнение вас совсем не будет интересовать.
Чтобы не нарваться на подделку, внимательно читайте маркировку на корпусе. Здесь должен быть чётко виден логотип производителя, марка изделия и дата выпуска. Сравните эти данные с указанными в документации на устройство.
Вопросы настройки и подготовки к работе оборудования были описаны выше. Добавим ещё несколько простых правил, необходимых для безопасной работы. В процессе работы необходимо постоянно следить за возможными утечками и замерзанием редуктора.
При кратковременной остановке работы достаточно закрыть вентиль на резаке. При остановках более 15 минут нужно вывернуть регулирующий винт, это предохранит от порчи регулирующую пружину. В конце рабочего дня рекомендуется снимать редуктор с баллона и укладывать в ящик.
Виды кислородных редукторов
Редукторы можно разделить на два больших класса – рамповые и постовые. Первые отличает высокая пропускная способность газа, она достигает 120 кубометров в час. Именно поэтому их устанавливают для подачи кислорода на объединенные сварочные посты. Вторые кислородные редукторы предназначены для персонального использования. Они гарантируют расход газа в пределах от 5 до 25 кубометров в час. Следует помнить, что по внешнему виду кислородные редукторы похожи друг на друга.

Рамповый кислородный редуктор

Постовый кислородный редуктор
ГОСТ 13861-89 определяет такие виды исполнения изделий для снижения давления кислорода:
- На баллонах — БКО, БКД и БПО.
- В магистральной сети — СКО, САО, СПО, СМО.
- Универсальные — У.
- Рамповые — РКЗ, РАД, РПД.
- Центрального действия – ЦКЗ.
Ключевые параметры кислородного редуцирующего устройства – это способность пропускать определенные объем газа в единицу времени и поддержания заданного параметра давления газа в емкости.

Кислородный редуктор БКО 50-4
Так, БКО 50-4 обеспечивает подачу газа 50 кубометров в час и с давлением, составляющим 4 атм. БКО 50 – 12, при том же расходе, поддерживает давление в 12 атм. Кстати, устройства этих моделей чаще всего применяют для оснащения рабочих газосварочных постов.

Кислородный редуктор РКЗ 500-2 (схема сбора)
РКЗ 500-2 (редуктор рамповый кислородный) предназначен для одновременной подачи газа на несколько газосварочных постов. Эти устройства работают в температурном диапазоне от -5 до +50 градусов Цельсия. Кстати, специалисты рекомендуют оснащать кислородные устройства этого класса дополнительными фильтрами.
Возможна ли взаимозаменяемость
Некоторые виды сварочных редукторов взаимозаменяемы, но далеко не все. Так, вместо специализированного редуктора СО2 для сварки допустимо использовать кислородный, но обратную замену производить категорически нельзя.
Кислород — химически активное вещество, сильнейший окислитель, поэтому для работы с ними используются специальные металлы и сплавы. К тому же кислород закачивается в газовые баллоны под давлением, превышающим этот же параметр для углекислоты более чем в 2 раза.
Сварочный редуктор для углекислого газа, накрученный на кислородный баллон, может продержаться, в зависимости от его качества, от нескольких часов до пары недель. Но в нем неминуемо произойдет полное разрушение уплотняющих мембран — основного элемента конструкции, вследствие чего прибор начнет травить.
Аналогичная резьба и в баллонах ля резки и сварки. При этом кислородный редуктор имеет правую резьбу. Кислород не горит сам по себе, но поддерживает горение. В некоторых условиях он взрывоопасен.
Кислородный редуктор, используемый во время сварки с углекислотным баллоном, ждет другая угроза. Углекислота вызывает промерзание контактирующих с ней деталей до -60 °C. Поскольку регулятор давления, предназначенный для кислорода, и не должен выдерживать такого режима работы, он также начнет разрушаться.
Виды и характеристики. Редуктор БКО 50-4 и БКО 50-5
По своим техническим параметрам редукторы для кислородного баллона подразделяются на две группы – рамповые и постовые. Рамповые редукторы отличаются повышенной пропускной способностью – от 100…120 м 3 /ч, а потому используются для питания группы сварочных постов, либо для сварочных работ с большими объёмами. Постовые редукторы – индивидуального назначения, они обеспечивают расход кислорода в количествах 5…25 м 3 /ч (меньшие значения соответствуют меньшим конечным давлениям газа).
Корпуса газовых редукторов внешне однотипны, поэтому при изготовлении их окрашивают в определённые цвета (для кислородных редукторов это голубой цвет).

- Баллонные, типа БКО, БКД и БПО.
- Сетевые, типа СКО, САО, СПО, СМО.
- Универсальные (У).
- Рамповые (РКЗ, РАД, РПД).
- Центральные (ЦКЗ).
Основной технической характеристикой кислородного редуктора является его пропускная способность и значение рабочего давления газа в баллоне. Например, кислородный редуктор типа БКО 50-4 означает, что агрегат предназначен для подключения к баллону с кислородом, является одноступенчатым, и рассчитан для пропускной способности до 50 м³/ч при рабочем давлении газа 4 атмосферы. Соответственно, для кислородного редуктора БКО 50-5 допустимое значение рабочего давления составляет 5 атмосфер. Именно редукторы типа БКО чаще всего и применяются для индивидуальных постов газосварки.

Дополнительными эксплуатационными особенностями кислородных редукторов являются:
- Число ступеней редуцирования. Выпускаются одноступенчатые устройства, регулятором давления в которых выступает либо пружина, либо иной узел, и двухступенчатые, где регулирование давления происходит постепенно, при помощи промежуточных пневматических камер. Двухступенчатые редукторы обеспечивают более надёжную работу сварочного поста в условиях низких температур, более стабильны по своим характеристикам, но отличаются конструктивной сложностью и, следовательно, увеличенной ценой;
- Способ присоединения. Используется накидная гайка, а не хомут, поскольку взрывоопасность кислорода требует особых требований к герметичности;
- Климатическое исполнение. Требование к надёжности работы регулятора тока особенно возрастают, когда газосварка ведётся не только при низких температурах, но и с большими объёмами. При больших расходах давление кислорода быстро снижается, что сопровождается увеличением объёма газа, остающегося в баллоне. Этот физический процесс ускоряет охлаждение газа и редуктора, в результате устройство может потерять работоспособность.
Принципиальными отличиями двухступенчатого кислородного редуктора являются редуцирующий клапан повышенной точности и двухслойная мембрана увеличенной площади, которая изготавливается из высокопрочных синтетических каучуков. Такой материал нечувствителен к изменению внешней температуры, благодаря чему мембрана сохраняет свою работоспособность при отрицательных температурах и давлениях газа до 150…200 атмосфер.
Редуктор кислородный характеристики и конструктивные особенности
Кроме, ключевых параметров в виде расхода и давления редукторы обладают следующими дополнительными характеристиками:

Редуктор кислородный характеристики
Количество ступеней снижения давления. Производители выпускают устройства с одной или двумя ступенями регулирования. В первой основную роль играет пружина. В моделях с двумя ступенями регулировка осуществляется при помощи промежуточных воздушных камер. Эти изделия гарантируют работу газосварочного рабочего места в условиях когда температура ниже нуля. Кроме того, эти редукторы гарантируют стабильную подачу газа. Но они отличаются сложностью конструкции и соответственно стоимостью.
Все кислородные редукторы присоединяют к источнику газа с помощью накидной гайки. Хомуты и другие крепежные приспособления использовать недопустимо. Это вызвано в первую очередь взрывоопасными свойствами кислорода, требующими качественной герметизации соединения.
Еще один параметр кислородных редуцирующих устройств – это климатическое исполнение
Этот показатель имеет важное значение. Дело в том, что падение давления приводит к росту его объема
Это приводит к переохлаждению редуктора и газа, а это может привести к повреждению устройства.

Кислородный редуктор особенности устройства
Двухступенчатый редуктор для кислорода отличается клапаном, изготовленным с высокой точностью и мембраной, собранной из двух слоев материала… Для ее изготовления применяют синтетические каучуки. Это позволяет сохранять работоспособность устройства при температурах ниже 0 и давлении до 200 атм.



































