Обгонные и центробежные муфты
Обгонные муфты, или муфты свободного хода, автоматически сцепляют и расцепляют валы в зависимости от соотношения угловых скоростей валов. Если скорость ведущего вала больше скорости ведомого вала, то муфта сцепляет валы. При меньшей скорости ведущего вала муфта расцепляет валы, не препятствуя ведомому валу свободно обгонять ведущий вал, откуда и происходит наименование муфт. Муфты свободного хода широко применяются в велосипедах, мотоциклах, коробках передач автомобилей, металлорежущих станках и других машинах.
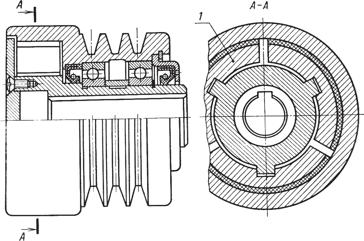
По способу сцепления полумуфт различают храповые и фрикционные обгонные муфты. Наиболее распространены фрикционные обгонные муфты с роликами, так как у них почти полностью отсутствует мертвый ход и работают они бесшумно.
Обгонная фрикционная муфта с роликами (рис. 12) состоит из двух полумуфт – звездочки 1 и обоймы 2 – и роликов 3, расположенных в сужающихся в одном направлении пазах между звездочкой и обоймой.

Рис. 12. Обгонная фрикционная муфта с роликами
Каждый ролик отжимается пружиной 4 в сужающуюся часть паза. Если ведущая полумуфта – звездочка, то сцепление валов может происходить только при вращении ее по часовой стрелке, а если ведущая полумуфта – обойма, то сцепление валов может произойти при вращении ее против часовой стрелки. При указанном вращении ведущей полумуфты каждый ролик закатывается в сужающуюся часть паза и заклинивается между полумуфтами, в результате чего и происходит сцепление полумуфт и соединение валов. При обратном вращении ведущей полумуфты ролики выкатываются в более широкую часть пазов и полумуфты расцепляются. Полумуфты и ролики при передаче больших нагрузок изготовляют из стали ШХ15 с термообработкой 58…60 HRC, а при небольших нагрузках – из сталей 20Х и 40Х с термообработкой 50…54 HRC.
Диаметр и длину ролика можно выбрать по следующим соотношениям: dp ≈ 0,125D; l=1,5d, где D – диаметр рабочей поверхности обоймы.
Муфты свободного хода применяют для валов диаметром 10…90 мм, число роликов 3…5, диаметр рабочей поверхности обоймы 32…200 мм, момент, передаваемый муфтой, – 0,25…7,7 Н•м.
Центробежные муфты по способу сцепления полумуфт представляют собой фрикционные муфты, в которых в отличие от фрикционных управляемых муфт сцепления полумуфты сцепляются или расцепляются автоматически с помощью специальных грузов, находящихся под действием центробежных сил и пружин. При достижении ведущим валом определенной угловой скорости центробежные силы, действующие на грузы, связанные с одной из полумуфт, преодолевают силы пружин и прижимают (или отжимают) эти грузы к другой полумуфте, в результате чего полумуфты и соединяемые ими валы сцепляются (или расцепляются).
По устройству центробежные муфты представляют собой фрикционные муфты, у которых механизмом управления служат грузы-колодки 1 (рис. 13), находящиеся под действием центробежных сил. При достижении ведущим валом заданной угловой скорости центробежные силы, действуя на грузы, производят включение муфты. Передача вращающего момента осуществляется силой трения, пропорциональной квадрату угловой скорости.

Рис. 13. Центробежная колодочная муфта
В современном машиностроении применяются конструкции центробежных муфт, которые служат для разгона механизмов с большими маховыми массами при двигателе с малым пусковым моментом, для повышения плавности пуска, для предотвращения разноса машины и т. п. Размеры муфт принимают конструктивно. Рабочие поверхности трения грузов проверяют на износостойкость аналогично фрикционным муфтам.
/,»и,
ЛЛ» ИСПОЛНЕНИЙ
Чесш вращения Г1, не бои
Смешение валов, НЕ боЛЕЕ
ради-
ИЛЬНОЕ
УГЛО
ВОЕ
Масса, «г, Ktte
250.0
500.0
710.0
40
45
40
45
45
50
50
50
50
03
03
42
140
03
225
100
225
100
82
85
56
42
00
100
55
220
170
220
170
82
$5
50
55
00
220
05
280
210
280
210
140
105
107
72
70
в
70
250
218
21$
140
105
107
72
38
0,4
0,03
11,75
12,10
2,60
14.31
14.70
15.21
15,34
15.22
19,91
19,75
21,93
26,09
28,65
29,81
31,98
3164
34,65
ев
Октаниткцы 1
Номи нальный | i № | 6 К! | 1 Н8 | i\ Н) | А | L, не более, для исполнений | (414, m мощений | Частот праще- | Смешение валов, не более | Масса, кг, | ||||||
(футяшии момент, Н’М | Ряд 1 | Ряд2 | не более | 1 | 2 | 3 | 4 | 1 | 2 | 3 | 4 | * I НИЯ.С , не более | ради альное | угло вое | не более | |
71 | ф | ■ | 34,4! | |||||||||||||
75 | 35,06 | |||||||||||||||
2000,о | 80 | 250 | 208 | 348 | 2(8 | 38 | 0,4 | Г00′ | 36,07 | |||||||
85 | 348 | 38,45 | ||||||||||||||
90 | 40,03 | |||||||||||||||
80 | 170 | 130 | 135 | 95 | (6,71 | |||||||||||
40000 | 85 | 320 | 350 | 270 | 350 | 270 | 30 | 0,5 | 69,01 | |||||||
tWvjV | 90 | 71,61 | ||||||||||||||
95 | 74,11 | |||||||||||||||
1 | Ф | 132,68 | ||||||||||||||
8000 0 | ПО | 400 | 9)2 | 342 | 432 | 342 | 24 | 0,5 | ОТО* | 140,88 | ||||||
OvWjV | 120 | “W | 210 | 105 | 170 | 125 | 145,58 | |||||||||
Ш | ф | кв | 142,98 | |||||||||||||
120 | 435 | 345 | 43! | 345 | Щ1 | |||||||||||
ш | 234,61 | |||||||||||||||
16000,0 | 130 | 500 | 515 | 415 | 515 | 415 | 250 | 200 | 205 | 155 | 19 | 0,6 | 264,31 | |||
но | # | ■ | 264,61 | |||||||||||||
150 | 356,31 | |||||||||||||||
100 | (15 | 495 | 015 | 495 | 300 | 240 | 245 | 185 | 308,11 |
Примечание-Ряд! является предпочтительным.
€45-
3 Полумуфты должны изготавливаться из чугуна марки СЧ20 по ГОСТ 1412. Допускается изготовление полумуфт из других материалов с механическими свойствами не хуже, чем у чугуна марки СЧ20.
4 Антикоррозийные покрытия полумуфт в зависимости от условий эксплуатации муфт — по ГОСТ 9.301, ГОСТ 9.303 и ГОСТ 9.306.
5 Материал пальцев — сталь с механическими свойствами не хуже, чем у стали марки 45 по ГОСТ 1050.
6 Материал распорных втулок — сталь марки СтЗ по ГОСТ 380. Допускается изготовление втулок из неметаллических материалов, обеспечивающих необходимую механическую прочность.
7 Упругие втулки должны изготавливаться из резин со следующими физико-механическими свойствами:
предел прочности при разрыве, МПа, не менее 8
относительное удлинение при разрыве, определяемое по ГОСТ 270, %, не менее 300
относительное остаточное удлинение, определяемое по ГОСТ 270, %, не более 24
твердость, определяемая по ГОСТ 263,
условных единиц, в пределах 60—75
истирание (по Грассели), м3/(Вт * с), не более 2,8 х 10—10
Общие технические требования на упругие втулки для муфт, предназначенных для эксплуатации в условиях тропического климата, должны соответствовать ГОСТ 15152.
Допускается замена упругих втулок набором колец с наружным и внутренним диаметрами, равными диаметрам втулки.
8 Размеры шпоночных пазов и предельные отклонения — по ГОСТ 23360 для исполнений 1, 3 и ГОСТ 10748 для исполнений 2, 4.
Ширина шпоночных пазов для полумуфт исполнений 3, 4 — по ГОСТ 12081.
9 Допуски углов конусов отверстий — по 9 степени точности по ГОСТ 8908.
10 Допускается сочетание полумуфт разных исполнений с различными диаметрами посадочных отверстий в пределах одного номинального крутящего момента.
11 По заказу потребителя допускается посадочное отверстие в одной из полумуфт выполнять меньшего диаметра, установленного для других номинальных крутящих моментов.
12 Пример условного обозначения упругой втулочно-пальцевой муфты с номинальным крутящим моментом 250 Н • м, диаметром посадочного отверстия d = 40 мм, исполнения 1, климатического исполнения У и категории 3:
Муфта упругая втулочно-пальцевая 250—40—1 УЗ ГОСТ 21424—93
То же с номинальным крутящим моментом 250 Н м, одна из полумуфт диаметром d = 32 мм, исполнения 1, другая — диаметром d — 40 мм, исполнения 4, климатического исполнения Т и категории 2:
Муфта упругая втулочно-пальцевая 250—32—1—40—4 Т2 ГОСТ
21424—93
Примечание — В обозначении муфты после значения номинального крутящего момента указывают обозначение полумуфты с отверстиями для крепления пальцев.
ИНФОРМАЦИОННЫЕ ДАННЫЕ ССЫЛОЧНЫЕ НОРМАТИВНО-ТЕХНИЧЕСКИЕ ДОКУМЕНТЫ
Обозначение НТД, на который дана ссылка 1 | Номер пункта |
! ГОСТ 9.301—86 | 4 |
ГОСТ 9.303—84 ; 4 | |
ГОСТ 9.306—85 | 4 |
ГОСТ 263—75 | 7 |
ГОСТ 270—75 1 7 | |
ГОСТ 380—88 | в |
ГОСТ 1050—88 | 5 |
ГОСТ 1412—85 | 3 |
ГОСТ 8908—81 | 9 |
ГОСТ 10748-79 | 8 |
ГОСТ 12080-66 | 2 |
ГОСТ 12081-72 | 2, 8 |
ГОСТ 15150-69 | Вводная часть |
ГОСТ 15152—69 | 7 |
ГОСТ 23360-78 | 8 |
УДК 621.825.7:006.354 ОКС 21.060.60 Г15 ОКП 41 7119
Ключевые слова: муфта упругая втулочно-пальцевая, параметр, размер
Редактор АЛ. Владимиров Технический редактор Л.А. Кузнецова Корректор В. И. Кануркина Компьютерная верстка В. И. Грищенко
Иэд. лиц. № 021007 от 10.08.95.Сдано в набор 23.04.96. Подписано в печать 09.07.96. Уел, печ. л. 0,70. Уч.-изд. л. 0,55. Тираж 549 экз. С 3583. Зак. 313.
И ПК Издательство стандартов 107076, Москва, Колодезный пер., 14.
Набрано в Издательстве на ПЭВМ
Филиал ИПК Издательство стандартов — тип. “Московский печатник”
Москва, Лялин пер., 6
Условия эксплуатации
Втулочно-пальцевая упругая втулка была создана для соединения соосных валов. Среди особенностей эксплуатации можно отметить следующее:
- Крутящий момент может варьировать в пределе от 6,3 до 16000 Нм. Этот показатель зависит от того, какие размеры имеет изделие и для каких целей устанавливается. Производители указывают этот параметр, так как он считается одним из наиболее важных.
- Динамическая нагрузка на момент эксплуатации существенно падает.
- Больше всего устройство распространено в машиностроительной области. Это связано с тем, что в этой области часто проводится соединение нескольких элементов и передачи вращения. В машиностроительной области встречаются и другие варианты исполнения муфт, все зависит от конкретного случая.
- Устройство способно компенсировать небольшой осевое смещение вала на момент эксплуатации. Подобная ситуация встречается крайне часто, так как обеспечить жесткую фиксацию достаточно сложно.
- Частота вращения указывается в технических характеристиках. Она также варьирует в достаточно большом диапазоне. Если провести неправильный выбор упругой втулочно-пальцевой муфты по этому параметру, то она не сможет прослужить в течение длительного периода.
- Вращаться устройство может в любую сторону. Этот момент считается довольно важным, так как некоторые устройства могут вращаться в любую сторону.
- Деталь изготавливается в нескольких климатических вариантах исполнения, что следует учитывать.

На момент работы может возникать трение, которое становится причиной появления высокой температуры. При этом условии эксплуатации определяют возможность воздействия окружающей среды.
Технические характеристики и габаритные и присоединительные размеры муфт МУВП по ГОСТ (муфт соединения валов)
* масса может быть различной в зависимости от исполнения; точные данные можно запросить у наших менеджеров
Условия эксплуатации
- возможна работа до 24 часов в сутки, либо длительная работа с периодическими остановками;
- вращение возможно в любую сторону;
- частота вращения должна быть не больше разрешенной максимальной величины (указана в таблице технических характеристик);
- климатические исполнения — по ГОСТ 15150: У1, У2, У3, УХЛ-4, Т1, Т2, Т3 и О4.
Муфты соединения валов МУВП могут быть изготовлена из двух полумуфт разного исполнения.
Возможные исполнения полумуфт:
- МУВП муфты с цилиндрическими отверстиями для длинных концов валов по ГОСТ 12080;
- муфты соединения валов с цилиндрическими отверстиями для коротких концов валов по ГОСТ 12080;
- муфты упругие втулочно-пальцевые по ГОСТ 12081 с коническими отверстиями для длинных концов валов
- муфты соединительные для валов с коническими отверстиями для коротких концов валов по ГОСТ 12081.
Условные обозначения муфт МУВП (муфт соединительных для валов)

Ткр — номинальный крутящий момент, Н*м
d — диаметры посадочных втулок или отверстий втулок и фланцевых полумуфт
Пример: МУВП 6-250-32-1-40-4 У2 ГОСТ 21424-93
Муфта упругая втулочно-пальцевая по ГОСТ21424-93 с номинальным крутящим моментом 250 Нм, одна из полумуфт диаметром посадочного отверстия d = 32 мм, исполнения 1, другая — диаметром d = 40 мм, исполнения 4, климатического исполнения У и категории 2.
У нас Вы можете купить муфты МУВП с доставкой по России, а также в страны ближнего зарубежья.
Источник
Шарнирные муфты
Шарнирные муфты (рис. 14) применяют для соединения валов, оси которых расположены со значительным смещением относительно друг друга, причем в процессе работы угол наклона может изменяться.

Рис. 14. Конструкция одношарнирной (а) и спаренной двухшарнирной (б) муфты
Простейшей шарнирной муфтой является одинарная муфта (рис. 14, а), состоящая из двух полумуфт 1 и 2, насаженных на концы валов и соединенных с ними посредством конических штифтов 3. Между полумуфтами установлена крестовина 4, имеющая форму параллелепипеда с отверстиями, оси которых пересекаются под прямым углом. Полумуфты и крестовина соединены при помощи пальцев 5 и втулок 6 с цилиндрическим штифтом 7. Штифты имеют на концах глухие отверстия, которые после сборки развальцовываются, образуя шарнир трения скольжения.
Одинарные шарнирные муфты допускают перекос осей валов на угол до 45°.
При необходимости увеличения угла наклона между соединяемыми валами свыше предельного для одинарной муфты применяют сдвоенную шарнирную муфту (рис. 14, б) с промежуточной спаренной вилкой 8 или две одношарнирные, соединенные последовательно.
Недостаток этой муфты – неравномерное вращение ведомого вала.
Сдвоенную шарнирную муфту (рис. 15) с разнесенными шарнирами применяют для обеспечения вращения ведомого вала с постоянной угловой скоростью, для возможности передачи вращательного движения между параллельными, но смещенными валами, а также при необходимости передачи вращения между соединяемыми валами, которые расположены под увеличенным углом.

Рис. 15. Схема двухшарнирной муфты с разнесенными шарнирами
Для возможности смещения во время работы валы соединяют шарнирной сдвоенной муфтой с телескопическим промежуточным валиком (рис. 16), т. е. валиком изменяющейся длины.
Рис. 16. Схема двухшарнирной муфты с телескопическим соединением шарниров
Шарнирные муфты подразделяются на малогабаритные, передающие небольшие моменты, и крупногабаритные для передачи средних и больших моментов. Малогабаритные шарнирные муфты, одинарные (рис. 14, а) и сдвоенные (рис. 14, б), применяются для соединения валов диаметром от 8 до 40 мм и передаваемым моментом вращения от 11,2 до 1120 Н•м.
Шарниры этих муфт образуются вставными осями, из которых одна длинная, а вторая состоит из двух коротких втулок, стянутых заклепкой. Материал вилок и заклепки – цементируемая сталь 20Х, а крестовины и осей – сталь 40Х.
В трансмиссиях автомобилей, дорожных и других машинах широко используют шарнирные муфты с крестовиной, имеющей шарниры с игольчатыми подшипниками.
Проверочный расчет шарнирных муфт состоит из определения давления на рабочие поверхности шарниров и расчета на прочность вилок и крестовины.
Упругие муфты

Упругие компенсирующие муфты — это устройства для соединения валов и передачи вращающего момента. В зависимости от особенностей конструкции и материалов изготовления, изделия подразделяются на жесткие, упруго‑демпфирующие и упругие муфты. Каждый вид отличается способностью компенсировать смещение осей: например, жесткая используется для постоянного сцепления валов, тогда как крутильно-упругая муфта допускает относительный поворот валов (в пределах 1–15 мм) и дополнительно гасит толчки и вибрации за счет наличия эластичных элементов или пружин.
В этой статье освещено назначение данных агрегатов, их основные характеристики, преимущества и разновидности:
Муфты упругие втулочно-пальцевые. Параметры и размеры
| Обозначение: | ГОСТ 21424-93 |
|---|---|
| Статус: | действующий |
| Тип: | ГОСТ |
| Название русское: | Муфты упругие втулочно-пальцевые. Параметры и размеры |
| Название английское: | Flexible couplings with rubber-bushed studs. Parameters and dimensions |
| Дата актуализации текста: | 06.04.2015 |
| Дата актуализации описания: | 01.01.2021 |
| Дата регистрации: | 21.10.1993 |
| Дата издания: | 01.01.2002 |
| Дата введения в действие: | 01.07.1996 |
| Область и условия применения: | Настоящий стандарт распространяется на упругие втулочно-пальцевые муфты общемашиностроительного применения, предназначенные для соединения соосных валов при передаче крутящего момента от 6,3 до 16000 Н.м и уменьшения динамических нагрузок, климатических исполнений У и Т, категорий 1-3 и климатических исполнений УХЛ и О, категории 4 по ГОСТ 15150 |
| Взамен: | ГОСТ 21424-75 |
| Расположен в: | Общероссийский классификатор стандартов → Механические системы и устройства общего назначения → Крепежные изделия → Кольца, втулки, манжеты, муфты Классификатор государственных стандартов → Машины, оборудование и инструмент → Общие детали и узлы машин → Передачи зубчатые и фрикционные. Приводы и трансмиссии Общероссийский классификатор продукции → Продукция общемашиностроительного применения → Узлы общемашиностроительного применения → Муфты механические для валов → Муфты нерасцепляемые механические / → – упругие с неметаллическими упругими элементами |
МУФТЫ УПРУГИЕ ВТУЛОЧНО-ПАЛЬЦЕВЫЕ
ПАРАМЕТРЫ И РАЗМЕРЫ
Издание официальное
МЕЖГОСУДАРСТВЕННЫЙ СОВЕТ ПО СТАНДАРТИЗАЦИИ, МЕТРОЛОГИИ И СЕРТИФИКАЦИИ
Минск
Предисловие
1 РАЗРАБОТАН Научно-исследовательским и проектно-конструкторским институтом редукторостроения (НИИредуктор) Мин-машпрома Украины
ВНЕСЕН Государственным комитетом Украины по стандартизации, метрологии и сертификации
2 ПРИНЯТ Межгосударственным Советом по стандартизации, метрологии и сертификации (протокол № 4—93 от 21 октября 1993 г.)
За принятие проголосовали:
Наименование государства | Наименование национального органа по стандартизации |
Республика Азербайджан | Азгосстандарт |
Республика Армения | Армгосстанда рт |
Республика Белоруссия | Бел стандарт |
Республика Грузия | Г рузстандарт |
Республика Казахстан | Госстандарт Республики Казахстан |
Киргизская Республика | Киргизстандарт |
Республика Молдова | Молдовастандарт |
Российская Федерация | Госстандарт России |
Республика Узбекистан | Узгосстандарт |
Украина | Госстандарт Украины |
3 Постановлением Комитета Российской Федерации по стандартизации, метрологии и сертификации от 10 января 1996 г. № 7 межгосударственный стандарт ГОСТ 21424—93 введен в действие непосредственно в качестве государственного стандарта Российской Федерации с 1 июля 1996 г.
4 ВЗАМЕН ГОСТ 21424—75
ИПК Издательство стандартов, 1996
Настоящий стандарт не может быть полностью или частично воспроизведен, тиражирован и распространен в качестве официального издания на территории Российской Федерации без разрешения
Госстандарта России
п
ГОСТ 21424-93
МЕЖГОСУДАРСТВЕННЫЙ СТАНДАРТ
МУФТЫ УПРУГИЕ ВТУЛОЧНО-ПАЛЬЦЕВЫЕ
Параметры и размеры
Flexible couplings with rubber-bushed studs.
Parameters and dimensions
Дата введения 1996—07—01
Настоящий стандарт распространяется на упругие втулочно-пальцевые муфты общемашиностроительного применения, предназначенное для соединения соосных валов при передаче крутящего момента от 6,3 до 16000 Н ми уменьшения динамических нагрузок, климатических исполнений У и Т, категорий 1 — 3 и климатических исполнений УХЛ и О, категории 4 по ГОСТ 15150.
Все требования настоящего стандарта являются обязательными.
1 Основные параметры, габаритные и присоединительные размеры муфт должны соответствовать указанным на рисунках 1, 2 и в таблице 1.
2 Полумуфты должны изготавливаться следующих исполнений:
1 — с цилиндрическими отверстиями для длинных концов валов по ГОСТ 12080;
2 — с цилиндрическими отверстиями для коротких концов валов по ГОСТ 12080;
3 — с коническими отверстиями для длинных концов валов по ГОСТ 12081;
4 — с коническими отверстиями для коротких концов валов по ГОСТ 12081.
Примечание — Допускается уменьшать длину посадочной части палумуфг в соответствии с ГОСТ 12080.
Издание официальное
С полумуфтами исполнений 1, 2
2 3 4
1ччулм1 | ||||
– | ||||
_Е | ||||
Е | ||||
1 | ||||
L |

Рисунок 1
С полумуфтами исполнений 3, 4 Остальное — см. с полумуфтами исполнений 1, 2
’7777777/^
Ш//Ш
‘ | |
J | ш |
I — полумуфта; 2 — палеи. 3 — тулка распорная; 4 — втулка упругая
Рисунок 2
Номи нальный крутящий момент, Нм | i HS | Н9 | i HS | Н9 | А не более | I, не более, для исполнений | (Л 14, для исполнений | Частота враше- | Смешение валов, не более | Масса, кг, | ||||||
Ряд! | Ряд 2 | 1 | 2 | 3 | 4 | 1 | 2 | 3 | 4 | ния, с’1, не более | ради альное | угло вое | не более | |||
у | 5 | 71 | 43 | – | 43 | – | 20 | – | 13 | – | 147 | 0,58 | ||||
10 | 49 | 43 | 49 | 23 | 20 | 16 | 0,60 | |||||||||
11 | *■* | 0,59 | ||||||||||||||
16,0 | 12 | 75 | 63 | 53 | 63 | 30 | 25 | 127 | 0,70 | |||||||
14 | 20 | — | 0,6! | |||||||||||||
16 | 83 | 59 | 83 | 59 | 1— | 0,2 | 0,75 | |||||||||
31,5 | 16 | 60 | 40 | 2! | 30 | 1! | 106 | 1,52 | ||||||||
18 | 90 | 84 | 60 | 84 | Г30′ | 1,40 | ||||||||||
10 | 1,38 | |||||||||||||||
(3,0 | 20 | 100 | 104 | 76 | 76 | 50 | h 38 | 2,02 | ||||||||
22 | 104 | 36 | 24 | 95 | 2,04 | |||||||||||
24 | 1,96 | |||||||||||||||
125,0 | 25 | 120 | 125 | 125 | 60 | 42 | 26 | 77 | 3,97 | |||||||
28 | 89 | 89 | 44 | 4,13 | ||||||||||||
30 | о,з | 4,37 | ||||||||||||||
32 | т | 5,91 | ||||||||||||||
250,0 | 35 | 140 | 165 | 121 | 165 | 121 | 80 | 58 | 60 | 38 | 63 | It | 6,21 | |||
36 | 6,25 | |||||||||||||||
38 | 6,28 |
ев—
Hpokxmimfauit 1
Номк-
момент,
Н-м
( 4 HIH)
Ряд!
Устройство и принцип работы некоторых муфт
Примером нерасцепляемых муфт являются так называемые глухие муфты. По характеру работы их относят к жестким муфтам. Глухие муфты соединяют соосные валы в одну жесткую линию. Наиболее распространенными глухими муфтами являются втулочные и фланцевые муфты.
Рис. 32. Втулочные муфты: а – крепление втулки 1 штифтами 2; б – крепление втулки 1 шпонками 3 и фиксация винтом 2
Втулочная муфта представляет собой втулку, надеваемую на концы валов и закрепляемую на них штифтами (рис. 32 а), шпонками (рис. 32 б) или шлицами. Эти втулки имеют простую конструкцию, малые габариты и низкую стоимость. Прочность таких муфт определяется прочностью штифтов и шпонок.
Фланцевая муфта (рис. 33) состоит из двух полумуфт с фланцами, стянутыми болтами. Фланцевые муфты могут передавать большие моменты, достаточно надежны в работе.
Жесткие компенсирующие муфты предназначены для соединения валов с компенсацией различного рода смещений (рис. 34 а — радиальных, б — осевых, в — угловых), появляющихся вследствие неточности изготовления и монтажа.
В качестве примера таких муфт рассмотрим зубчатую компенсирующую муфту. Она состоит (рис. 35) из двух обойм 1 с внутренними зубьями эвольвентного профиля, которые зацепляются с зубьями втулок 2, насаживаемых на концы валов. Обоймы соединены между собой болтами.
Рис. 35 Зубчатая муфта
Основная часть упругих муфт — упругий элемент (неметаллический или металлический), смягчающий толчки и удары, защищающий от крутильных колебаний.
Наиболее широко применяемая упругаявтулочно-пальцевая муфта (МУВП) состоит из двух полумуфт (рис. 36), в одной из которых в конических отверстиях закреплены соединенные пальцы с надетыми гофрированными резиновыми втулками.
Рис. 36. Втулочно-пальцевая Рис. 37. Муфта упругая с
муфта торообразной оболочкой
Упругая муфта с горообразной оболочкой состоит из двух полумуфт (рис. 37), упругой оболочки, по форме напоминающий автомобильную шину, и двух колец, зажимающих с помощью винтов оболочку. Эта муфта обладает высокими упругими и демпфирующими свойствами, обеспечивает шумо- и электроизоляцию узлов привода.
Примером сцепных (управляемых) муфт могут служить кулачковые (рис. 38) и фрикционные (рис. 39) муфты.
Рис. 38. Схема кулачковой муфты
Кулачковая муфта состоит из двух полумуфт с кулачками на торцевых поверхностях. Для переключения муфты одна полумуфта передвигается вдоль вала на направляющей шпонке или шлицах с помощью механизма управления муфтой. При включении кулачки одной полумуфты входят во впадины другой, создавая жесткое сцепление.
Рис. 39. Схемы фрикционных муфт
Фрикционные муфты служат для плавного сцепления валов под нагрузкой на ходу при любых скоростях. Передача крутящего момента осуществляется силами трения между трущимися поверхностями деталей муфты. В момент перегрузок фрикционные муфты пробуксовывают, предохраняя машину от поломок. По форме поверхности трения фрикционные муфты делятся на дисковые (рис.39 а), конусные (рис. 39 б) и цилиндрические (рис. 39 в)
Самоуправляемые муфты предназначены для автоматического сцепления и расцепления валов при изменении заданного режима работы машины. Примером самоуправляемых муфт могут служить предохранительные муфты.
Предохранительная пружинно-кулачковая муфта по конструкции аналогична сцепной кулачковой, только подвижная в осевом направлении полумуфта прижимается к неподвижной с помощью пружины. При перегрузке сила на гранях кулачков становится больше прижимного усилия пружины и муфта многократно прощелкивает кулачками, подавая звуковой сигнал о перегрузке.
Рис. 40 Предохранительная
муфта со срезным штифтом
Существуют такжепредохранительные муфты с разрушающимся штифтом. На рис. 40 изображена такая предохранительная муфта. В ней при перегрузке штифт 3 срезается кромками стальных закаленных втулок 4, установленных в полумуфтах 1 и 2. Для возобновления работы машины вывинчивают пробку и срезанный штифт заменяют новым. Иногда в муфте ставится два срезных штифта.
Дата добавления: 2016-12-16 ; просмотров: 5327 ;
Условные обозначения
Маркировка муфт и их упругих элементов осуществляется в соответствии с ГОСТ 21424-93.
Пример обозначения МУВП: Муфта МУВП 2000-70-2-80-3 УХЛ. Здесь указаны следующие параметры:
- 2000 – крутящий момент (номинальный) 2000 Н·м;
- 70 – диаметр посадочного отверстия ведущей полумуфты (на ней закрепляются пальцы) 70 мм, исполнение 2;
- 80 – диаметр посадочного отверстия ведомой полумуфты 80 мм, исполнение 3;
- УХЛ климатическое исполнение.
Исполнения полумуфт:
- С цилиндрическим отверстиями для длинных концов валов (ГОСТ 12080);
- С цилиндрическим отверстиями для коротких концов валов (ГОСТ 12080);
- С коническими отверстиями для длинных концов валов (ГОСТ 12081);
- С коническими отверстиями для коротких концов валов (ГОСТ 12081).
Пример обозначения кольца: Кольцо МУВП К5 56,5 × 30 × 7,5 × 14. Здесь указаны размеры кольца в мм в формате (D × d × b × В), где:
- D – диаметр наружный;
- d – диаметр внутренний;
- b – высота наружной кромки;
- В – высота кольца у основания.
Пример обозначения втулки: Втулка МУВП К2 14 × 27 × 28. Здесь также указаны размеры изделия в мм в формате (d × D × h), где:
- d – диаметр внутренний;
- D – диаметр наружный;
- h – общая высота.
Условия эксплуатации
- работа длительная до 24 ч. в сутки или с периодическими остановками;
- частота вращения не более величины, указанной в таблице технических характеристик;
- вращение в любую сторону;
- климатические исполнения – У1, У2, УЗ, УХЛ-4, Т1, Т2, ТЗ и О4 по ГОСТ 15150.

Рис. 2. Условные обозначения
Ткр – номинальный крутящий момент, Н х м
d – диаметры посадочных отверстий втулок или отверстий втулок и фланцевых полумуфт
Исп.:
Исполнение 1 – обе полумуфты с расточкой под цилиндрический конец вала
Исполнение 2 – обе полуфуфты с расточкой под конический конец вала
Исполнение 3 – полумуфта 1 с расточкой под цилиндрический конец вала, полумуфта 2 под конический
Исполнение 4 – полумуфта 1 с расточкой под конический конец вала, полумуфта 2 под цилиндрический

Рис. 3. Исполнения
Пример условного обозначения упругой втулочно-пальцевой муфты с номинальным крутящим моментом 250 Н*м, климатического исполнения Т и категории 2, одна из полумуфт диаметром посадочного отверстия d=32мм, исполнения 1, ответная полумуфта – диаметром d=40мм, исполнения 4: . МУВП 250-32-1-40-4 Т2 ГОСТ 21424-93
Прайс лист на муфты МУВП
Цены не являются публичной офертой. Для уточнения информации позвоните пожалуйста по телефону +7(4842)75-10-21
Или . Цены указаны без НДС
| Ном- ер муф- ты | Цена | Номина- льный крутя- щий момент Ткр, Нхм | Ко-во паль- цев, шт | d H8 | d1 H9 | d H8 | d1 H9 | D | L, не более, для исполнений | l, h14, не более, для исполнений | Часота враще- ния, с-1, не более | Мас- са, кг | ||||
| Ряд 1 | Ряд 2 | 1 | 2 | 3 | 4 | 1 | 2 | 3 | 4 | |||||||
| МУВП-1 | 3800 | 6,3 | 4 | 9 | – | 70 | 43 | – | 43 | – | 20 | – | 13 | – | 147 | 0,58 |
| 10 | – | 49 | 43 | 49 | – | 23 | 20 | 16 | – | 0,60 | ||||||
| 11 | – | 0,59 | ||||||||||||||
| МУВП-2 | 4000 | 16,0 | 4 | 12 | – | 75 | 63 | 53 | 63 | – | 30 | 25 | 20 | – | 127 | 0,70 |
| 14 | – | 0,68 | ||||||||||||||
| 16 | – | 83 | 59 | 83 | 59 | 40 | 28 | 30 | 18 | 0,75 | ||||||
| МУВП-3 | 4400 | 31,5 | 4 | 16 | – | 80 | 84 | 60 | 84 | 60 | 106 | 1,52 | ||||
| 18 | – | 1,40 | ||||||||||||||
| – | 19 | 1,38 | ||||||||||||||
| МУВП-4 | 5300 | 63,0 | 6 | 20 | – | 90 | 104 | 76 | 104 | 76 | 50 | 36 | 38 | 24 | 95 | 2,02 |
| 22 | – | 2,04 | ||||||||||||||
| – | 24 | 1,96 | ||||||||||||||
| МУВП-5 | 6600 | 125,0 | 4 | 25 | – | 120 | 125 | 89 | 125 | 89 | 60 | 42 | 44 | 26 | 77 | 3,97 |
| 28 | – | 4,13 | ||||||||||||||
| – | 30 | 165 | 121 | 165 | 121 | 80 | 58 | 60 | 38 | 4,37 | ||||||
| МУВП-6 | 7900 | 250,0 | 6 | 32 | – | 140 | 63 | 5,91 | ||||||||
| – | 35 | 6,21 | ||||||||||||||
| 36 | – | 6,25 | ||||||||||||||
| – | 38 | 6,28 | ||||||||||||||
| 40 | – | 225 | 169 | 225 | 169 | 110 | 82 | 85 | 56 | 6,63 | ||||||
| – | 42 | 6,86 | ||||||||||||||
| 45 | – | 6,80 | ||||||||||||||
| МУВП-7 | 10000 | 500,0 | 6 | 40 | – | 170 | 60 | 11,75 | ||||||||
| – | 42 | 12,10 | ||||||||||||||
| 45 | – | 12,60 | ||||||||||||||
| МУВП-8 | 14500 | 710,0 | 8 | 45 | – | 190 | 226 | 170 | 226 | 170 | 110 | 82 | 85 | 56 | 50 | 14,31 |
| – | 48 | 14,70 | ||||||||||||||
| 50 | – | 15,21 | ||||||||||||||
| – | 55 | 15,34 | ||||||||||||||
| 56 | – | 15,22 | ||||||||||||||
| МУВП-9 | 15200 | 1000,0 | 10 | 50 | – | 220 | 18,87 | |||||||||
| – | 55 | 48 | 19,91 | |||||||||||||
| 56 | – | 19,75 | ||||||||||||||
| – | 60 | 286 | 216 | 286 | 216 | 140 | 105 | 107 | 72 | 21,93 | ||||||
| 63 | – | 26,09 | ||||||||||||||
| – | 65 | 28,65 | ||||||||||||||
| – | 70 | 29,81 | ||||||||||||||
| МУВП-10 | 20000 | 2000,0 | 10 | 63 | – | 250 | 288 | 218 | 288 | 218 | 140 | 105 | 107 | 72 | 38 | 31,98 |
| – | 65 | 31,64 | ||||||||||||||
| – | 70 | 34,65 | ||||||||||||||
| 71 | – | 34,48 | ||||||||||||||
| – | 75 | 35,06 | ||||||||||||||
| 80 | – | 36,07 | ||||||||||||||
| – | 65 | 31,64 | ||||||||||||||
| – | 70 | 34,65 | ||||||||||||||
| 71 | – | 34,48 | ||||||||||||||
| – | 75 | 35,06 | ||||||||||||||
| 80 | – | 348 | 268 | 348 | 268 | 170 | 130 | 135 | 95 | 36,07 | ||||||
| – | 85 | 38,45 | ||||||||||||||
| 90 | – | 40,03 | ||||||||||||||
| МУВП-11 | 29000 | 4000,0 | 10 | 80 | – | 320 | 350 | 270 | 350 | 270 | 30 | 66,71 | ||||
| – | 85 | 69,01 | ||||||||||||||
| 90 | – | 71,61 | ||||||||||||||
| – | 95 | 74,11 | ||||||||||||||
| МУВП-12 | 71500 | 8000,0 | 10 | 100 | – | 400 | 432 | 342 | 432 | 342 | 210 | 165 | 170 | 125 | 24 | 132,68 |
| 110 | – | 140,88 | ||||||||||||||
| – | 120 | 145,58 | ||||||||||||||
| 125 | – | 142,98 | ||||||||||||||
| МУВП-13 | 73000 | 16000,0 | 10 | – | 120 | 500 | 435 | 345 | 435 | 345 | 19 | 237,81 | ||||
| 125 | – | 234,61 | ||||||||||||||
| – | 130 | 515 | 415 | 515 | 415 | 250 | 200 | 205 | 155 | 264,31 | ||||||
| 140 | – | 264,61 | ||||||||||||||
| – | 150 | 356,31 | ||||||||||||||
| 180 | – | 615 | 495 | 615 | 495 | 300 | 240 | 245 | 185 | 308,11 |
Муфта МУВП
Упругие муфты устанавливают в приводах, которые работают при колебаниях нагрузки. Наиболее простым видом таких муфт является муфта упругая втулочно-пальцевая — МУВП. Она снижает силу удара во время колебаний благодаря жестким, упругим резиновым втулкам, которые расположены на стальных пальцах.
10 УКАЗАНИЯ ПО ЭКСПЛУАТАЦИИ
10.1 Перед монтажом муфту необходимо расконсервировать. Монтаж муфты следует производить с использованием монтажных приспособлений в условиях, когда исключено загрязнение, повреждение деталей муфт. Точность установки соединяемых валов в соответствии с требованиями 4.5 настоящего стандарта и требованиями конструкторской документации на устанавливаемые муфты.
10.2 При монтаже муфты следует обеспечить свободный доступ для залива смазки, возможность сбора сливаемой смазки, контроль смазки и затяжки гаек.
10.3 При монтаже втулки с валом сопрягаемые поверхности следует смазывать солидолом по ГОСТ 4366.
10.4 При монтаже контрольные метки на парных втулках и обоймах должны совпадать.
10.5 В муфту следует заливать смазку в объеме, указанном в паспорте. Смазка должна при работе муфт покрывать полную высоту зубьев.
10.6 Марку смазки в зависимости от температурного режима следует выбирать по таблице 3.Допускаются другие марки смазки с характеристиками не ниже, чем у приведенных в таблице 4.
Таблица 4
Диапазон температур, °С | Марка смазки | Примерные сроки замены смазки | |
основная | заменяющая | ||
От минус 40 до плюс 20 | ТС-10 по ГОСТ 23652 | – | В новых муфтах первую замену масла производят через 100-150 ч работы; последующие замены масла производят через 2000-2500 ч работы |
От плюс 20 до плюс 80 | ИТП-300 ИГП-38 по ГОСТ 26191 | И-50А по ГОСТ 20799 с присадкой ДФ-11 (3…5%), при температуре выше 50 °С допускается применение смазки УНИОЛ-2 ГОСТ 23510 | |
От плюс 80 до плюс 120 | ИПП-20 по ГОСТ 26191 | ИТП-300 по ГОСТ 26191 |
Технические характеристики
Втулки рассчитаны на работу в составе муфт МУВП и способны передавать соответствующий крутящий момент. Рабочая температура для резиновых изделий составляет -45…+70 °С, для полиуретановых -60…+80 °С. В зависимости от выбранных резиновых смесей, готовые уплотнители можно эксплуатировать в разных рабочих средах:
- в воздухе;
- в воздухе с попаданием масел или смесей масел с водой;
- в маслах;
- в воде;
- в топливе.
Среди механических свойств главную роль играет высокая упругость и ее сохранение даже после длительного сжатия. Напряжение сжатия изделий составляет до 20 кгс/см 2 , кратковременно – до 40 кгс/см 2 .
Основные технические характеристики
| Номер муфты | Номинальный крутящий момент Ткр, Нxм | d H8 | d1 H9 | d H8 | d1 H9 | D (не более) | L (не более), для исполнений | Частота вращения,с-1, не более | Масса, кг | |
|---|---|---|---|---|---|---|---|---|---|---|
| Ряд1 | Ряд 2 | 1 | 2 | 3 | 4 | |||||
| МУВП-1 | 6,3 | 9 | – | 71 | 43 | – | 43 | – | 147 | 0,58 |
| 10 | – | 49 | 43 | 49 | – | 0,60 | ||||
| 11 | – | 0,59 | ||||||||
| МУВП-2 | 16,0 | 12 | – | 75 | 63 | 53 | 63 | – | 127 | 0,70 |
| 14 | – | 0,68 | ||||||||
| 16 | – | 83 | 59 | 83 | 59 | 0,75 | ||||
| МУВП-3 | 31,5 | 16 | – | 90 | 84 | 60 | 84 | 60 | 106 | 1,52 |
| 18 | – | 1,40 | ||||||||
| – | 19 | 1,38 | ||||||||
| МУВП-4 | 63 | 20 | – | 100 | 104 | 76 | 104 | 76 | 95 | 2,02 |
| 22 | – | 2,04 | ||||||||
| – | 24 | 1,96 | ||||||||
| МУВП-5 | 125,0 | 25 | – | 120 | 125 | 89 | 125 | 89 | 77 | 3,97 |
| 28 | – | 4,13 | ||||||||
| – | 30 | 165 | 121 | 165 | 121 | 4,37 | ||||
| МУВП-6 | 250,0 | 32 | – | 140 | 63 | 5,91 | ||||
| – | 35 | 6,21 | ||||||||
| 36 | – | 6,25 | ||||||||
| – | 38 | 6,28 | ||||||||
| 40 | – | 225 | 169 | 225 | 169 | 63 | 6,63 | |||
| – | 42 | 6,86 | ||||||||
| 45 | – | 6,80 | ||||||||
| МУВП-7 | 500,0 | 40 | – | 170 | 60 | 11,75 | ||||
| – | 42 | 12,10 | ||||||||
| 45 | – | 12,60 | ||||||||
| МУВП-8 | 710,0 | 45 | – | 190 | 226 | 170 | 226 | 170 | 50 | 14,31 |
| – | 48 | 14,70 | ||||||||
| 50 | – | 15,21 | ||||||||
| – | 55 | 15,34 | ||||||||
| 56 | – | 15,22 | ||||||||
| МУВП-9 | 1000,0 | 50 | – | 220 | 18,87 | |||||
| – | 55 | 48 | 19,91 | |||||||
| 56 | – | 19,75 | ||||||||
| – | 60 | 286 | 216 | 286 | 216 | 21,93 | ||||
| 63 | – | 26,09 | ||||||||
| – | 65 | 28,65 | ||||||||
| – | 70 | 29,81 | ||||||||
| МУВП-10 | 2000,0 | 63 | – | 250 | 288 | 218 | 288 | 218 | 38 | 31,98 |
| – | 65 | 31,64 | ||||||||
| – | 70 | 34,65 | ||||||||
| 71 | – | 34,48 | ||||||||
| – | 75 | 35,06 | ||||||||
| 80 | – | 348 | 268 | 348 | 268 | 36,07 | ||||
| – | 85 | 38,45 | ||||||||
| 90 | – | 40,03 | ||||||||
| МУВП-11 | 4000,0 | 80 | – | 320 | 350 | 270 | 350 | 270 | 30 | 66,71 |
| – | 85 | 69,01 | ||||||||
| 90 | – | 71,61 | ||||||||
| – | 95 | 74,11 | ||||||||
| МУВП-12 | 8000,0 | 100 | – | 400 | 432 | 342 | 432 | 342 | 24 | 132,68 |
| 110 | – | 140,88 | ||||||||
| – | 120 | 145,58 | ||||||||
| 125 | – | 142,98 | ||||||||
| МУВП-13 | 16000,0 | – | 120 | 500 | 435 | 345 | 435 | 345 | 19 | 237,81 |
| 125 | – | 234,61 | ||||||||
| – | 130 | 515 | 415 | 515 | 415 | 264,31 | ||||
| 140 | – | 264,61 | ||||||||
| – | 150 | 356,31 | ||||||||
| 180 | – | 615 | 495 | 615 | 495 | 308,11 |
Параметры зубчатых муфт
Параметры зубчатых муфт стандартизированы по ГОСТ 5006-55 для диаметров валов от 40 миллиметров до 560 миллиметров, и передаваемых моментов, от Мкр=70 кГм до 100 000 кГм. Для муфт общего назначения максимальное количество оборотов в минуту ограничивается исходя из окружной скорости uзуб = 25 м/сек, на начальной окружности зубчатого венца. Согласно ГОСТ 5006-55, допустимый угол перекоса валов при отсутствии смещения равен а=1°. Допустимое смещение при отсутствии перекоса равно е≈0,02 d. Если присутствуют оба вида деформаций, то их допустимые значения должны составлять: а≤30′; е≥0,01 d.
Главным параметром определения работоспособности зубчатых муфт является износостойкость рабочих поверхностей зубьев, которая зависит от окружной скорости и линейных и угловых перемещений соединяемых валов. Но так как значения этих перемещений во время работы меняются, то меняются геометрические параметры зацепления, и соответственно характер распределения нагрузки между зубьями.
В связи с этим, выполнить абсолютно точный расчет практически невозможно. Поэтому, на практике, размеры зубчатых муфт выбирают по моменту Мм = kрМкр (ГОСТ 5006-55), где в зависимости от ответственности соединения, kр нужно принимать увеличенным в 1,3-1,5 раза.

В частности, в кранах применяют в основном подвижные зубчатые муфты, которые компенсируют смещения соединяемых валов. Наибольшее распространение, из числа жестких подвижных муфт, получили зубчатые муфты, которые изготавливаются согласно ГОСТ 50895-96, ГОСТ 5006-83. Также, такие муфты могут быть изготовлены по ТУ заказчика.
Различают следующее исполнение зубчатых муфт:
- с разъемной обоймой (обозначение по ГОСТ 5006-55 — МЗ);
- с промежуточным валом (обозначение по ГОСТ 5006-55 — МЗП);
- с неразъемной обоймой.
Втулки зубчатых муфт производят таких видов:
- с цилиндрическими отверстиями по ГОСТ 12080, для коротких концов валов.
- с коническими отверстиями для муфт с разъемной и неразъемной обоймой, по ГОСТ 12081, для коротких концов валов.
Если нужны втулки с отверстиями другой формы, то они изготавливаются по заказу потребителя. Также допускается в муфтах комбинация втулок разных исполнений.
Хорошо зарекомендовали себя зубчатые муфты, изготовленные из капролона, капрона и других подобных материалов. Благодаря упругим полимерным зубчатым венцам в обойме, распределение нагрузки между зубьями оказывается более равномерно распределенным, и полная передаваемая нагрузка почти не уступает нагрузочной способности зубчатых муфт с металлическими зубьями. Особенно это сказывается при значительных углах перекоса. Помимо этого, такие полимерные муфты обладают лучшей демпфирующей способностью и электроизоляционными свойствами. Цена зубчатой муфты из полимерных материалов выгодно отличается от цены металлических.
Муфта зубчатая МЗП состоит из фланцевой полумуфты, втулки, обоймы. Она производится в соответствии с требованиями ГОСТ 5006-55 и служит для соединения валов посредством промежуточного вала.
Такие муфты с промежуточным валом, а также цепные муфты, могут быть названы полужесткими.




































