Мебельный цех
Гараж вполне подходит для оборудования мебельной мастерской. В нем вы можете заниматься производством, ремонтом и реставрацией мебельных изделий. Самый простой вариант — сборка корпусной мебели из ламинированных листов ДСП, заранее раскроенных по вашим размерам. Здесь придется приобрести профессиональный набор инструментов и наработать навыки обращения с ними. В перспективе вы можете развивать свое предприятие, приобретя форматно-раскроечное и другое профессиональное оборудование.
Сборка корпусной мебели — доступная для большинства людей идея своего мини-бизнеса
При минимальных навыках кроя и шитья можно попробовать заняться реставрацией либо изготовлением мягкой мебели. Здесь вам потребуется приобрести швейное оборудование (электрическую машину), стол для раскроя и инструменты для обработки массива, из которого обычно изготовлен корпус конструкций.
Как видите, вариантов заработать на пустующей недвижимости существует достаточно много. Мы привели только малую часть примеров, что представляет собой производство в гараже. Идеи из Европы (видео об этом вы увидите немного ниже) давно зарекомендовали себя стабильным и перспективным способом наполнения семейного бюджета.
Смотрите это видео на YouTube
Оборудование и инструменты
Любая кузнечная мастерская, даже полностью механизированная, должна обладать главным элементом ремесла — горном. Ведь именно при подогреве сталь и железо стают мягкими и пластичными, что делает их податливыми при обработке. Устройство кузнечного горна довольно простое — по сути, это печь в которой горит топливо. Но для повышения температуры горения нужно обеспечить дополнительную подачу воздуха. Раньше для этого использовали меха, которыми накачивали кислород в очаг.
Самый простой газовый мини горн для мелких поковок можно изготовить даже из консервной банки. Как это делается показано на предоставленном видео:
Такое устройство позволит изготавливать кованые вещи даже в гараже или сарае на даче.
Главное условие при работе кузнечного горна — должна быть обеспечена достаточная температура разогрева. Лучше всего иметь твердотопливный очаг, работающий на горении угля. Также неплохой вариант — газовый кузнецкий горн.
Важно озаботиться качественной вытяжкой, которая будет удалять продукты горения топлива!
Второе приспособление для кузницы — наличие наковальни. Это «рабочий стол» любого кузнеца. Наковальни бывают различных размеров и габаритов.
Но для полноценной ковки потребуется дополнительно наличие отверстий в поверхности и возможности закрепления дополнительного оборудования (например, обжимок и гладилки). Также для гибки элементов на наковальне присутствует рог округлой формы. Его используют как своеобразную оправку. Однако, подойдет и самодельная наковальня из массивного куска металла, например, рельса.
После этого нужно озаботиться и приобрести кузнечный инструмент.
- Ручник.
- Кувалды.
- Клещи.
- Тиски.
- Обжимки и гладилки.
- Зубила.
- Воротки.
Ручники — это небольшие молоты, которыми делает основную работу мастер. Вес их колеблется от 500 грамм до двух килограмм. Сам молоток насаживают на деревянную рукоять, обычно изготовленную из рябины (сглаживает отдачу при ударе).
Кувалда предназначается для грубой работы, к примеру, обжимки габаритных и массивных заготовок. Ее вес составляет 2-8 килограмм, рукоятка, как и у ручника, деревянная.
Клещи нужны для манипуляций с разогретыми металлическими элементами во время ковки. Они должны быть достаточно длинными, а также прочными. Захват обязательно сильный, чтобы деталь не выскальзывала при каждом ударе и движении.
Тиски, могут подойти и слесарные. Довольно часто тиски смонтированы на наковальне, для более удобной работы. Главное, чтобы они обеспечивали надежное крепление деталей при ковке.
Обжимки и гладильни — это специальные приспособления, которые при ручной ковке монтируют на наковальню. Их задача сродни заводскому штампу — придать нужную форму заготовке и сгладить ее лицевые части.
Воротками оперируют, если нужно скручивать металлические детали, а зубилами рубят металл. Также для холодной обработки можно смонтировать ручной станок, где будет удобней крутить и изгибать металл.
Впрочем, в современной мастерской рубка вполне заменяется резкой с использованием болгарки. То же касается и различных пробойников. Их вполне можно заменить сверлильным верстаком или даже электрической дрелью.
Однако, даже наличие простого приспособления вполне может заменить электрические станки для ковки своими руками.
Если вы планируете заниматься ковкой на более серьезном уровне, то потребуется и соответствующее оборудование.
Кузница в гараже
Кузнец — одна из древнейших профессий, традиционно овеянная тайнами и легендами. Простейшую кузню можно оборудовать в своем гараже. Это не потребует особо сложного оборудования и больших затрат. Домашний мастер сможет создавать в ней как бытовые предметы, так и художественные объекты.
Кузня в гараже
Как построить кузнечно-слесарную мастерскую своими руками
Мини кузницу, возводимую своими руками, рекомендуется располагать не ближе, чем в 10 метрах от жилых построек. Это объясняется повышенной пожароопасностью традиционной кузнечной технологии.
Площадь, необходимая для удобного и безопасного размещения всего необходимого оборудования-от 15 кв.м. Высота потолка над горном и наковальней должна быть не менее 2,5 м. Лучше всего, чтобы постройка была кирпичной и каменной.
Пол обязательно должен быть из негорючего материала — бетонный или выложенный кирпичом или плиткой. Допускается глиняное покрытие, регулярно смачиваемой водой. Если стены и потолок деревянные, их следует покрыть толстым слоем известковой побелки.
Изделия, изготовленные в кузнице в домашних условиях
В помещении гаража, выделенного под кузню, должна быть устроена вытяжная вентиляция и обеспечено хорошее освещение. Проводка должна быть скрыта в металлические трубы или рукава.
Есть еще один вариант — кузню можно разместить под навесом, пристроенным к стенке гаража. Отпадает проблема с вентиляцией, однако комфортно работать в такой мастерской можно будет только в теплое время года.
Технология кузнечного дела требует размещения в выделенном под кузню отсеке гаража следующих основных единиц оборудования:
- Горн с топочными инвентарем (совок, кочерга и т.д.).
- Рундук с топливом.
- Вентилятор.
- Наковальня.
- Бочка для закалки.
- Тиски.
Ручной инструмент – молоты, клещи, просечки и пр. потребуют для себя полки, а лучше — полноценного прочного верстака.
Горн и наковальня располагаются так, чтобы к ним был доступ со всех сторон. Освещение лучше выполнить лампами накаливания или светодиодными лампами «теплого света» (с цветовой температурой 2700 К)- они не искажают цвета заготовки.
Обустройство кузни своими руками
По возможности дверь (или ворота) кузни следует направлять в сторону от дома.
Качественным инструментом в хорошем состоянии работать приятно и безопасно. Кроме того, хороший инструмент позволяет добиться высокого качества изделий.
Подбор инструмента начинают с ударного инвентаря. В него входят:
- Ручник. Небольшой молоток массой 500-2000 г, с рукояткой 35-60 см. Рукоятку следует сделать из лиственных деревьев и гладко отшлифовать.
- Кувалда. Тяжелый молот, массой 8-16 кг. Бойки у кувалды плоские, за длинную (до 120 см) рукоятку ее держат двумя руками и используют для ударов большой амплитуды и веса.
- Боевой молот. Молоток массой до 10 кг, держится двумя руками. Один боек плоский, другой — клиновидный, применяемый для разгона заготовки вдоль оси.
РучникКувалда
Клещи на длинных ручках предназначены для:
- извлечения раскаленной детали из горна;
- удержания ее в нужном для ковки положении.
Клещи должны иметь возможность удержания как крупных, так и мелких деталей, не допуская их проворота под ударами. Для этого у них должны быть удлиненные губки.
Измерительный инструмент – стальные линейки, угольники, мерные калибры, штангенциркуль, транспортир и т.п.
Клещи
Кузня в гараже рядом с домом должна также иметь емкость для охлаждения и закалки откованных изделий. Можно использовать обрезанную металлическую бочку.
Кузнечная наковальня
При выборе наковальни для мастерской в гараже важно обратить внимание на состояние рабочей поверхности и особенно закраин. На них не должно быть сколов и выбоин. Если ударить по поверхности молотом, она должна зазвенеть, а молот — отскочить
Если ударить по поверхности молотом, она должна зазвенеть, а молот — отскочить
Если ударить по поверхности молотом, она должна зазвенеть, а молот — отскочить
Если ударить по поверхности молотом, она должна зазвенеть, а молот — отскочить
Если ударить по поверхности молотом, она должна зазвенеть, а молот — отскочить.
Устанавливают наковальню на мощную сварную раму. Такую конструкцию при необходимости можно оперативно перемещать с места на место силами одного человека. Если же удастся раздобыть крупный пень (не гнилой!)- то кроме надежного устойчивого крепления получится еще и амортизатор. Но двигать в одиночку его уже не получится.
Кузнечная наковальня
Высоту установки рассчитывают исходя из роста и длины рук кузнеца так, чтобы плоскость бойка при ударе с двух рук была параллельна рабочей плоскости.
Капитальный ремонт
Чтобы начать строительство, стоит понимать, что будет в себя включать капитальный ремонт:
- Обновление (восстановление) ворот и стен.
- Смена напольного покрытия.
- Утепление (обшивка) потолка.
- Обновление (восстановление) кровли.
- Установка дополнительной гидроизоляции в подвале.
Выгодным вариантом при восстановлении гаража считается ситуация, когда стены, пол и крыша ремонтируются одновременно. Восстановление отдельных элементов больше относится к текущему ремонту.

Стены
Как правило, в гаражных помещениях стены возводятся из кирпича или бетона. Такие поверхности менее подвержены износу. Если на стенах и возникают небольшие повреждения, их легко устранить с помощью шпаклевки. Поверхность можно покрыть водоэмульсионной краской для лучшего вида. Масляную краску использовать не стоит, так как она пожароопасная.
Иногда хозяева гаражей хотят, чтобы оформление стен было красивым. В подобном случае можно использовать пластиковые панели, листы ДСП или фанеру. Тем не менее не стоит забывать и о том, что деревянные материалы гигроскопичны с одной стороны. Так, накапливая влагу, они становятся благоприятной средой для плесени и гнилостных бактерий. Пластик, в свою очередь, может создавать парниковый эффект, а также способствовать повышению влажности в гараже. В подобном случае может страдать транспортное средство из-за коррозии металла.
Также стоит подумать и об утеплении стен, что чаще всего делают с помощью пенопласта.

Пол гаража
На пол гаража приходится львиная доля нагрузки, что обязательно стоит учитывать при ремонте. Так, в него упираются массивные стеллажи, на которых находятся инструменты, на нем стоит транспортное средство. Также он может страдать от горюче-смазочных материалов и иных агрессивных жидкостей, которые, в любом случае, проливаются на него. По этой причине деревянные полы – не самая лучшая идея, так как они быстро выходят из строя и подвержены повреждениям.
В завершение пол можно покрыть плиткой, так как с нее довольно просто убрать те или иные загрязнения, а также ее не повреждает масло или бензин.

Утепляем и обшиваем потолок
Комфорт в гараже достигается путем обшивки и утепления потолка. Алгоритм и количество работ в этом случае будут зависеть от того, какая по конфигурации сама кровля. Так, если вы имеете дело с плоской крышей, можно сделать наружное утепление.
Лучше использовать керамзит. Благодаря гранулам сыпучего материала происходит сохранение тепла внутри, и холодный воздух не проникает в помещение гаража. По периметру кровли устанавливается специальный парапет для удерживания керамзита.
Бетонное основание очищается от сора. Если имеется такая необходимость, делается гидроизоляция с помощью рубероида.

Советы по обустройству гаража
Полезные лайфхаки для гаража помогут эргономично использовать доступное пространство. Есть несколько грамотных способов обустройства и оформления гаражного помещения:
Гараж, как правило, имеет прямоугольную форму, а автомобиль не занимает всё свободное пространство. Поэтому можно обустроить рабочую зону с верстаками, полочками и инструментарием. Для запчастей, инструментов и приборов стоит выделить отдельные зоны.
Если в гараже имеется отдельное помещение (щитовая, подсобка), его дверь можно переоборудовать в своеобразный стеллаж для хранения лёгких небольших принадлежностей.
В компактном помещении на стенах можно сделать металлические решётки, использующиеся для компактного хранения инструментов. На решётке с крючками также можно хранить садовый инвентарь и рабочую одежду.
Практически на любой поверхности можно установить крючки для хранения гаражных принадлежностей. Можно использовать готовые фабричные крюки, или сделать их самостоятельно.
Кузнечная наковальня
При выборе наковальни для мастерской в гараже важно обратить внимание на состояние рабочей поверхности и особенно закраин. На них не должно быть сколов и выбоин. Если ударить по поверхности молотом, она должна зазвенеть, а молот — отскочить
Если ударить по поверхности молотом, она должна зазвенеть, а молот — отскочить
Если ударить по поверхности молотом, она должна зазвенеть, а молот — отскочить.
Устанавливают наковальню на мощную сварную раму. Такую конструкцию при необходимости можно оперативно перемещать с места на место силами одного человека. Если же удастся раздобыть крупный пень (не гнилой!)- то кроме надежного устойчивого крепления получится еще и амортизатор. Но двигать в одиночку его уже не получится.

Высоту установки рассчитывают исходя из роста и длины рук кузнеца так, чтобы плоскость бойка при ударе с двух рук была параллельна рабочей плоскости.
Как правильно обустроить смотровую яму
Схема смотровой ямы
Вопрос о наличии или отсутствии смотровой ямы довольно индивидуален. Для начала вам необходимо решить – насколько высока необходимость в обустройстве такой ямы. Нет смысла в ее оборудовании, если вы чаще пользуетесь эстакадой на улице.
Если вы решили, что такая яма вам необходима, то надо учитывать, что стены и дно должны быть бетонированными. Края ямы должны быть укреплены железными уголками. Стоит также предусмотреть, чем и как вы будете закрывать смотровую яму во время ее неиспользования.
В углу ямы необходима дренажная лунка, в нее будет собираться вся вода, случайно попавшая вниз. Лунку необходимо сделать такого размера, чтобы из нее было удобно вычерпывать накопившуюся воду. Чтобы случайно во время ремонта авто не наступить ногой в лунку, ее необходимо прикрыть решеткой.
В яме можно расположить небольшое оборудование, которое может пригодиться для ремонта, в стенах можно предусмотрительно сделать ниши, чтобы было удобно положить используемый инструмент. Также позаботьтесь об освещении смотровой ямы, установите светильник или оборудуйте место для переносной лампы.
Создание полезных приспособлений для гаража своими руками
Чтобы осуществлять ремонтные и сервисные работы, потребуется соорудить смотровую яму в гараже своими руками, размеры которой будут соответствовать габаритам авто, а также верстак для удобной работы, плюс снабдить помещение станками.
Основной набор инструментов и материалов для создания самодельного верстака для гаража включает:
- доски и деревянные бруски;
- крепежные элементы и стяжки;
- рубанок и другие инструменты для обработки дерева;
- лакирующий и столярный клеевые составы;
- наждачную бумагу и олифу.

Пример размещения в гараже полезных приспособлений: 1 — верстак с ручными станками, 2 — стеллажи и шкафы, 3 — стол для проведения различных ремонтных работ, 4 — полка для хранения шин, 5 — смотровая яма
Технология изготовления верстака в гараже своими руками: фото, чертежи
Верстак состоит из столешницы и подстолья, а также нескольких устройств зажимного типа. Высоту верстака в гараже следует подбирать с учетом собственного роста. Можно взять в качестве ориентира высоту кухонного стола в доме, за которым удобно работать. Обязательно составьте для создания верстака для гаража своими руками чертежи.
Обустройство гаража: как сделать верстак в помещении:
| Этап работы | Детали, размер в см | Тип крепления |
| Сборка столешницы | 20 досок (5х10х200) с пазами 2,5х2,5 в 5-ом и 16-ом элементе (шаг 25) | Клеевой состав металлические стяжки |
| Сушка | — | — |
| Изготовление ножек (4 шт.) | Брусок (10х10х80) с пазами под кронштейны на передних опорах | Кронштейны |
| Сборка основания подстолья | Рамы (2 шт.) из досок (5х10) | Соединение «в шип» на глубину 2,5 см и болты |
| Фиксация боковых и задних опорных стенок | Плиты ДСП (толщина 10 мм) | Шурупы |
| Фиксация столешницы к верхней раме | — | Болты |
Заключительная обработка предполагает пропитку готового изделия олифой и вскрытие лаком.
Рекомендации по созданию смотровой ямы в гараже своими руками
Не существует определенных размеров смотровой ямы в гараже. В качестве основы берутся габариты автомобиля.
Как сделать смотровую яму в гараж с оптимальными параметрами:
- Ширина подбирается с тем расчетом, чтобы внутри было достаточно места для работы. Размер ограничен расстоянием, на которое посажены колеса авто. Каждое колесо нуждается в небольшой площади для выполнения маневров. Средняя ширина ямы составляет 0,8 м.
- Длина ямы ограничивается длиной машины. К этому показателю следует добавить 1 м.
- Для расчета глубины используется рост владельца гаража. К нему прибавляется еще 10-15 см.
Как правильно сделать смотровую яму в гараж с использованием разных материалов:
| Материал | Толщина стенок, см |
| Керамический кирпич | 12-25 |
| Бетон | 15 |
| Строительные блоки | 20 |
Котлован вырывается с учетом оптимальной ширины ямы, материала, выбранного для стенок, а также толщины гидроизоляционного слоя. Этапы создания ямы:
- разметка;
- строительство котлована;
- обустройство котлована;
- строительство стен;
- прокладка освещения.
Для гидроизоляции стен применяется специализированная гидрофобная пропитка.

Схема обустройства смотровой ямы: 1 — стенки из пеноблоков, 2 — гидроизоляция, 3 — бутовая кладка. 4 — уголок размером 50х50х4 мм
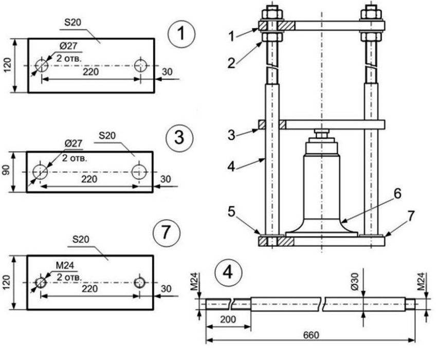
Изготовление пресса для гаража своими руками
Для создания пресса следует изготовить из 4 отрезков металлических труб каркас размером 178х80 см. Эти элементы соединяются методом сварки. В работе рекомендуется руководствоваться чертежами, заранее подобранными или составленными. После этого нужно установить:
- фиксатор;
- съемный упор;
- бутылочный домкрат (гидравлический).
Можно использовать для рассмотрения подробной технологии создания полезных приспособлений для гаража своими руками видео-материалы. Такие наглядные рекомендации помогают сориентироваться в размерах, освоить пошаговые инструкции и представить, какой внешний вид должна иметь готовая конструкция.

Схема изготовления гидравлического пресса: 1 — верхняя силовая платформа, 2 — гайки, 3 — нижняя платформа, 4 — шпильки диаметром 30 мм, 5 — нижняя резьба шпилек, 6 — гидравлический домкрат бутылочного типа; 7 — основание толщиной 20 мм
Обустройство гаража можно сделать собственными руками. На этом список полезных приспособлений не заканчивается. Его всегда можно дополнить любыми интересными идеями. Главное, чтобы гараж полностью соответствовал личным требованиям в отношении комфорта и удобства.
https://youtube.com/watch?v=D1BKvgCBg8Q
Что нужно для кузни – инструмент, оборудование, приспособления, место
Минимум, без которого даже не начать
Чтобы хоть как-то минимально начать заниматься кузнечным делом, осваивать его и работать с металлом, первое, без чего не обойтись – это сварочный аппарат. Трансформатор пойдет, инвертор еще лучше. Это как минимум.
Упростит жизнь также болгарка (еще называют УШМ (угловая-шлифовальная машина), отрезная машинка), она значительно упростит жизнь начинающего кузнеца.
Также нужен из инструмента в первую очередь – молоток. Какой же кузнец без молотка. Тут комментарии излишни. Просто надо приобрести молоток.
Также понадобится какой-то металл для работы. Если средства позволяют, можно покупать сортовой металлопрокат на металлобазе или в строительных магазинах, а если денег мало или нет, можно использовать различный металлолом. Где вы его будете брать, в данной статье рассматривать не будем.
Что можно сделать сначала
Имея сварочный аппарат, можно сделать наковальню. Например, такую, как на видео ниже. Здесь использовался кусок рельса, стальные уголки, куски арматуры и еще какие-то железки.
Обратите внимание, на наковальне уже есть подкладной инструмент- вилка. Сварить такую тоже не сложно, если есть болгарка и сварочник
Если сварить еще в дополнение к этой вилке так называемую “мартышку” (см
фото ниже), то уже можно заниматься холодной ковкой. То есть, что-то подбить, подогнуть молотком вы уже сможете, а также сможете заниматься гибкой на вилке “мартышкой”
Если сварить еще в дополнение к этой вилке так называемую “мартышку” (см. фото ниже), то уже можно заниматься холодной ковкой. То есть, что-то подбить, подогнуть молотком вы уже сможете, а также сможете заниматься гибкой на вилке “мартышкой”.

Мартышка и подкладная вилка
Вот еще один вариант наковальни самоделки от адвоката Егорова.
Далее, используя то, что есть, уже можно сварить горн. Вот, например такой как на видео ниже. Более подробно и с картинками об изготовлении этого горна рассказано в этих статьях: часть 1 и часть 2. Добавим лишь, что не обязательным, но очень желательным (облегчающим процесс сборки деталей для резки и сварки) является инструмент клещи зажимные (плоскогубцы сварщика).
Имея все вышеописанное, дальше вы сможете сделать клещи, подкладной инструмент, обжимки и прочие приспособления, инструмент и приобрести оборудование для кузнеца, о которых есть и еще будет немало статей на нашем сайте kovka-svarka.net.
Место для кузницы
Где можно сделать кузницу – почти где угодно. Нельзя только в квартире. Если у вас есть гараж, можно в гараже. Если у вас есть частный дом или дача, можно в сарае. Можно даже просто на улице. Но только соблюдайте правила пожарной безопасности. Все таки кузнечное дело связано с высокой пожарной опасностью. Подробнее о требованиях к месту для кузни тут.
План- схема кузницы для тех, кто хочет самостоятельно заниматься ковкой
Конечно, план-схема кузницы, предложенный в данной статье, это лишь один из множества вариантов планировки, и не под каждые условия и обстоятельства он подойдёт. Но этот план (схема) рабочий, это реальная кузница и в ней работают реальные кузнецы. Как видно на фото.

Итак, вот сама схема. Для рассмотрения в полном имеющемся масштабе, щелкайте по фото плана схемы.

Выбор сварочного аппарата, кабель для сварочника и держатель электрода
Кузница дома– минимальные требования к постройке.
Как сделать кузницу в домашних условиях.
Рубрика статей: Кузница
Все статьи про оборудование для кузницы
Основные правила
Немало мужчин, которые оборудовали под кузницу небольшое помещение в жилом доме. Чаще для этого использовали ванную комнату, что в корне неверно! Кузница — место, где должны соблюдаться основные правила пожарной безопасности.
Прежде, чем начать говорить о том, как сделать кузницу самостоятельно, следует определить под нее место. Для этого должны выполняться следующие условия:
- Помещение: обособленное, находящееся в отдалении от жилого дома.
- Площадь помещения: от 15 м2 и выше, в зависимости от целей работ.
- Стены кузницы: возводят из дерева или кирпича, покрывают штукатуркой.
- Пол кузни: любой негорючий материал.
- Открытие дверей: наружу.
- Дополнительно: хорошее освещение с изолированной электрической проводкой, вентиляция.
https://youtube.com/watch?v=lLMJJfKe2hU
Кузня, располагающаяся дома, может мешать домочадцам спать, что следует учитывать до строительства или выделения помещения. Если работы планируется проводить лишь в теплое время года, стоит подумать об оборудовании навеса. Все описанные выше рекомендации соблюдаются вне зависимости от вида кузницы.
https://youtube.com/watch?v=ot14K_fLj2U
Обустройство внутри кузницы: главные устройства
Технология кузнечного дела просит расположения в выделенном под кузню отсеке гаража следующих ключевых единиц оборудования:
- Горн с топочными инвентарем (совок, кочерга и т.д.).
- Рундук с топливом.
- Вентилятор.
- Наковальня.
- Бочка для закалки.
- Тиски.
Инструмент для ручной работы – молоты, клещи, просечки и др. затребуют для себя полки, а лучше — настоящего крепкого верстака.
Горн и наковальня находятся таким образом, чтобы к ним был доступ с каждой стороны. Освещение лучше сделать лампами общего назначения или LED-лампами «тёплого света» (с температурой цвета 2700 К)- они не ухудшают цвета заготовки.

Обустройство кузни собственными руками
Если есть возможность дверь (или ворота) кузни следует направлять в сторону от дома.
Как сделать горн своими руками
Стол в кузнице
Основой для стационарного горна является стол, на котором устраивают очаг для нагревания заготовок. Высота его определяется в зависимости от роста кузнеца – ему должно быть удобно переносить заготовки от стола к наковальне. Обычно это составляет 700-800 мм.
Оптимальные размеры рабочей поверхности – это 1х1,5 м или 1,5х2 м, однако и они определяются исходя из габаритов деталей, которые предстоит ковать. Если заготовки будут объёмные, такие, как решётки, ворота, горн следует расположить на некотором расстоянии от стены кузницы. Поверхность стола выкладывается из пиленого камня, кирпича или железобетона. Корпус сооружается в виде ящика и возводится из кирпича, брёвен, камня, а внутри заполняется щебнем, глиной или песком. В качестве альтернативы каменной, можно также изготовить столешницу из стального листа 4 мм.
Очаг в кузнице
По центру стола находится очаг, а для некоторых видов работ предусматриваются и два. Горн для художественной ковки обычно имеет центральное расположение очага, который состоит из колосниковой решётки и фурмы – эти элементы обеспечивают подачу воздуха для горения угля. Размеры гнезда зависят от назначения горна и размера заготовок, которые будут в нём нагреваться. В плане – это углубление круглой или квадратной формы, со сторонами, скажем, от 200х200 до 400х400 мм и 100-150 мм в глубину.
Колосниковую решётку из чугуна можно изготовить самостоятельно, из старой толстостенной сковороды диаметром около 300 мм, просверлив в ней отверстия по 1 см, или воспользоваться автомобильным стальным диском. Предварительно в поверхности стола делается отверстие нужного диаметра так, чтобы подгон был максимально плотным, и вставляют в него заготовку. Если исходная плоскость – из кирпича, его аккуратно выпиливают, смачивая водой (влажный кирпич лучше поддаётся обработке).

Форма отверстий в решётке влияет на создание различных видов пламени. Например, равномерные круглые отверстия создают цилиндрическое факельное горение, а вытянутые щелевые делают пламя узким и длинным.
Фурма в кузнице
Основной механизм в горне – это вентилятор, который отвечает за подачу воздуха для горения. В прежние времена для этой цели использовались механические кожаные меха. Особенно они были эффективны при работе с древесным углём в качестве топлива, чьё горение активизировалось при дутье – его температура повышалась всего от нескольких движений мехов.
Сегодня применяются вентиляторы по типу улитки, которые поставляют воздух с сильным напором. В принципе, в качестве поддува использовать можно всё – от автомобильных воздуходувок до старых пылесосов и даже настраивать в них различные режимы подачи воздуха – от активного горения до тления.
Воздух от вентилятора подводят через патрубок к корпусу фурмы и он сквозь чугунную решётку проникает в область горения. Количество подаваемого воздуха регулируется с помощью заслонки, а для очистки фурмы от золы в нижней её части предусматривается крышка.
Зонт в кузнице
Для отвода дыма над кузней устанавливают вытяжной зонт, по форме напоминающий пирамидальную вытяжку. Его изготавливают из листов железа толщиной 0,5–1,5 мм и в некоторых случаях оборудуют опускающимися крыльями.
В нижнем сечении зонт обычно соответствует габаритам стола и укрепляется на высоте 500–600 мм над рабочей плоскостью. Это расстояние не может считаться эталонным, так как в отводе угарных газов многое зависит от особенностей горна, силы поддува, и потому определяется опытным путём.
Недостаток зонтов из металла – их быстрое прогорание. Гораздо долговечнее те, которые выложены из огнеупорного кирпича, но они тяжелее, чем металлические и для их устройства нужны подпорки или металлическая рама.
Необходимые материалы и инструменты
Самодельная кузница оснащается инструментами, которые доступны ее владельцу. Постепенно старый инструментарий заменяют профессиональным. В список обязательных приспособлений включены:
- молот или молоток;
- кувалда;
- клещи с длинными ручками;
- вентилятор для поддува;
- чугунная решетка;
- гибкий алюминиевый лист;
- стальные линейки трех видов (30, 50, 100 см);
- кочерга;
- совок из металла;
- метла;
- пика.

В качестве материалов понадобятся кирпич (лучше жаростойкий), песок, цемент, большой пень, поддон. Теперь можно приступить к строительству. За пример возьмем мини кузницу при небольшом бюджете.
Изготовление элементов декора и скульптуры
Многие хозяева охотно используют для декора дворов частных коттеджей лепные декоративные изделия из гипса и бетона. Неплохой возможностью заработка может стать самостоятельное производство подобных скульптур.
Отличным и прибыльным делом станет изготовление садово-парковых скульптур
Организация этого домашнего бизнеса не требует серьезных капиталовложений. Вам вполне будет достаточно суммы порядка двух тысяч долларов. Понадобится приобрести разъемные формы – опоки для отливки садовых фигур и расходные стройматериалы. С реализацией продукции, как правило, редко появляются трудности. Ведь гипсовые и бетонные художественные изделия являются популярным элементом ландшафтного дизайна и пользуются повышенным спросом.





































